User's Manual

6 307880
Installation
Fig. 2
103
104
101
102
3
d
Fire-Ball 300
pump shown
8729B
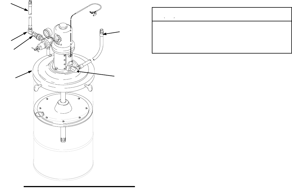
Air Line and Accessories
Note: Install the air line accessories in the order
shown in the Typical Installation on page 5.
CAUTION
Do not hang air accessories directly on the air inlet.
The fittings are not strong enough to support acces-
sories and may cause one or more to break. Provide
a bracket on which to mount accessories.
D Install a pump runaway valve (G) to shut off the air
to the pump if the pump accelerates beyond the
pre-adjusted setting. A pump that runs too fast can
be seriously damaged.
D Install an air line lubricator (F) for automatic air
motor lubrication.
D Install the air regulator (C) to control pump speed
and pressure.
D On the main air supply line from the compressor,
install an air line filter (E) to remove harmful dirt and
contaminants from your compressed air supply.
Grounding
Proper grounding is an essential part of maintaining a
safe system. Read and follow the instructions in
Grounding on page 4.










