Ultra-Lite Gun Instructions and Parts List
Table Of Contents

9308876
Operation
Air Switch Hand Held Valve
The valve operation is such that there are only two
valve conditions: either fully open or fully closed.
The valve is opened and closed by the internal air
control valve. Trigger the gun to open the valve.
Release the trigger to close the valve.
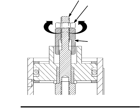
Shaft Stroke Adjustment (Models 965766,
965767, 965768, and 965786 only)
Adjust the shaft stroke to balance the valve between
“snuff-back” and “push-out”.
D A long stroke will give maximum snuff-back but it
may cause push-out when the valve opens.
D Shortening the stroke of the shaft will minimize the
material pushed out when the valve opens and will
also increase the material back pressure through
the valve.
To adjust the shaft stroke:
1. Loosen the hex nut (44) from the adjustment nut
(43).
2. Adjust the nut (44) along the adjustment shaft (42)
to the desired position.
D The valve is at full stroke when the hex nut
(44) is at the end of the adjustment shaft (42).
D Adjusting the nut (44) on the shaft (42)
towards the valve, or clockwise, will reduce the
stroke length.
D Adjusting the nut away from the valve, or
counterclockwise, will lengthen the stroke.
3. Tighten the hex nut (44) to the adjustment nut (43)
to set the adjustment.
Fig. 4
8460
Shorten Lengthen
42
44
43
Maintenance
Preventative Maintenance
There is a grease filled secondary seal/bearing area on
the valve shaft. Every 10,000 cycles, or twice each
month, new grease should be flushed across this area.
Each valve has two flush grease fittings. A small
grease gun is provided with each valve.
To grease the valve:
1. Remove the grease fitting from one side of the
gun.
2. Pump grease (Part No. 115982) across the valve
until clear grease comes out of the other side.
3. Reinstall the grease fitting.