Air Conditioner User Manual
Table Of Contents

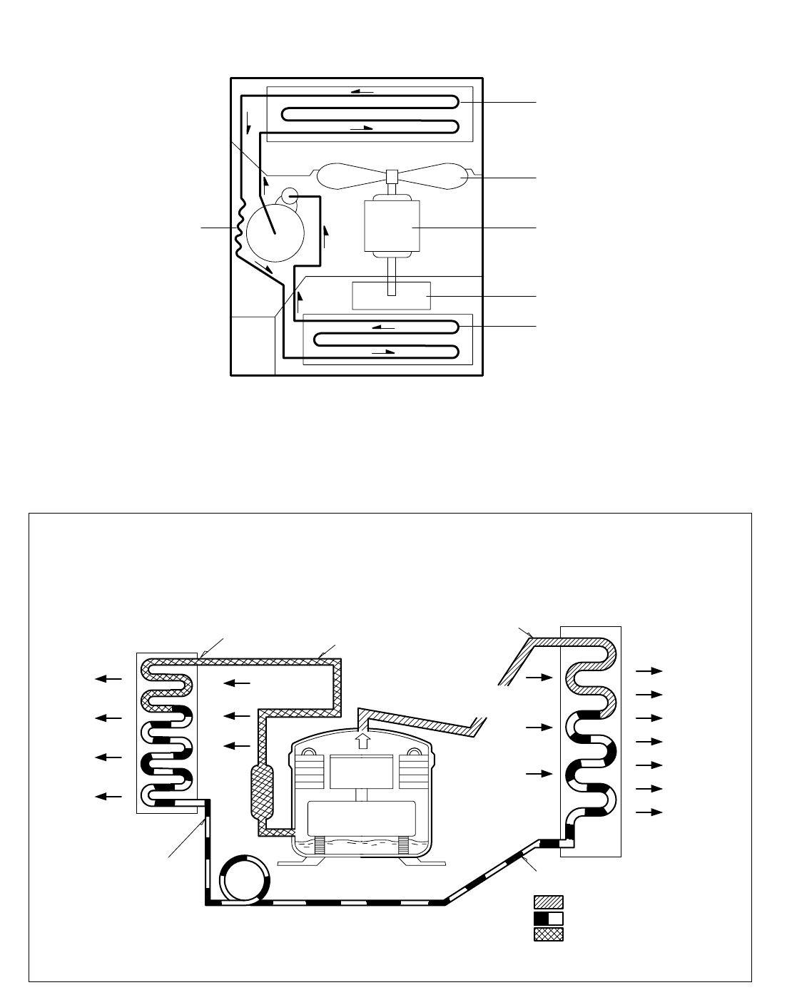
—17—
4.2 PIPING SYSTEM
Following is a brief description of the important components and their function in what is called the refrigeration
system. Reference should be made to Figure 32 to follow the refrigerating cycle and the flow of the refrigerant in
the cooling cycle.
COOLED
AIR
HOT
DISCHARGED
AIR
MOTOR
COMPRESSOR
ROOM AIR HEAT LOAD
CAPILLARY TUBE
(LIQUID REFRIGERANT)
LIQUID OUTLET
VAPOR INLET
COMPLETE LIQUID
BOIL OFF POINT
SUCTION LINE
COOL LOW PRESSURE VAPOR
LIQUID
PRESSURE
DROP
DISCHARGE
LINE
NOT HIGH PRESSURE
VAPOR
OUTSIDE COOLING
AIR FOR REFRIGERANT
PASS THROUGH
EVAPORATOR COILS CONDENSER COILS
ROOM AIR CONDITIONER
CYCLE OF REFRIGERATION
HIGH PRESSURE VAPOR
LIQUID REFRIGERANT
LOW PRESSURE VAPOR
OIL
CONDENSER COILS
FAN
MOTOR
CAPILLARY
TUBE
TURBO FAN
EVAPORATOR
COILS
Figure 32










