User's Manual

F-60 Operation and Maintenance Manual
Operation
© GBC Pro-Tech 1998 July
3-15
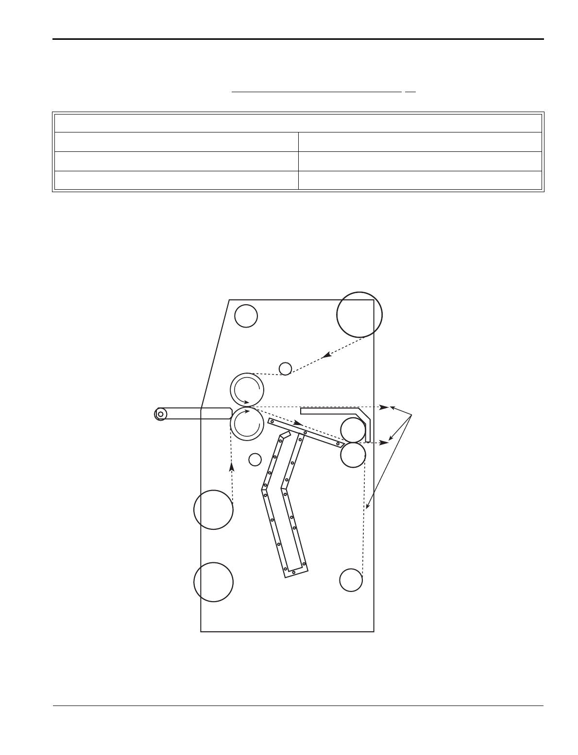
352&(66&21752/&+$57$
Product:_________________ Process: Mount & Hot Overlaminate (First Pass) __ Date:________________
35 2&(66&2175 2/',$*5$0$
Mount and Hot Overlaminate (First Pass)
FRONT CONTROL SETTINGS
Speed: 0-6 fpm (0-180 cpm)
Reverse/Forward: Forward
Roll Pressure: 30-60%
Top Heater: 230 ºF (110 ºC)
Cooling: Optional
Bottom Heater: 32 ºF (0 ºC)
Use
Any
Path
3 Mil
Gloss
Pro
Mount










