User's Manual

F-60 Operation and Maintenance Manual
Operation
© GBC Pro-Tech 1998 July
3-13
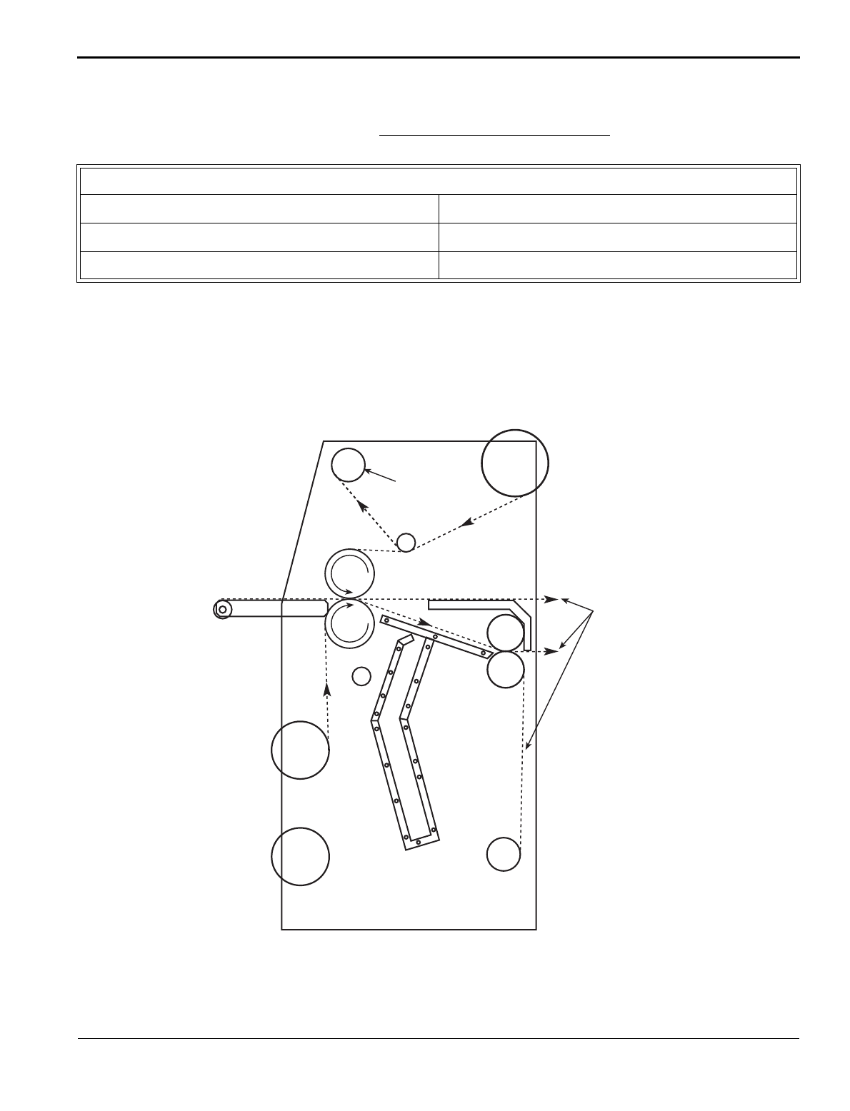
352&(66&21752/&+$57$
Product:______________________ Process: Cold Mount & Laminate (First Pass) Date:________________
35 2&(66&2175 2/',$*5$0$
Cold Mount and Laminate (First Pass)
FRONT CONTROL SETTINGS
Speed: 0-6 fpm (180 cpm)
Reverse/Forward: Forward
Roll Pressure: 30-60%
Top Heater: 105 ºF (40 ºC)
Cooling: Off
Bottom Heater: 32 ºF (0 ºC)
Use
Any
Path
Pro
Gloss
Pro
Mount
Release
Paper
Rewind










