User's Manual

Operation
F-60 Operation and Maintenance Manual
3-12
© GBC Pro-Tech 1998 July
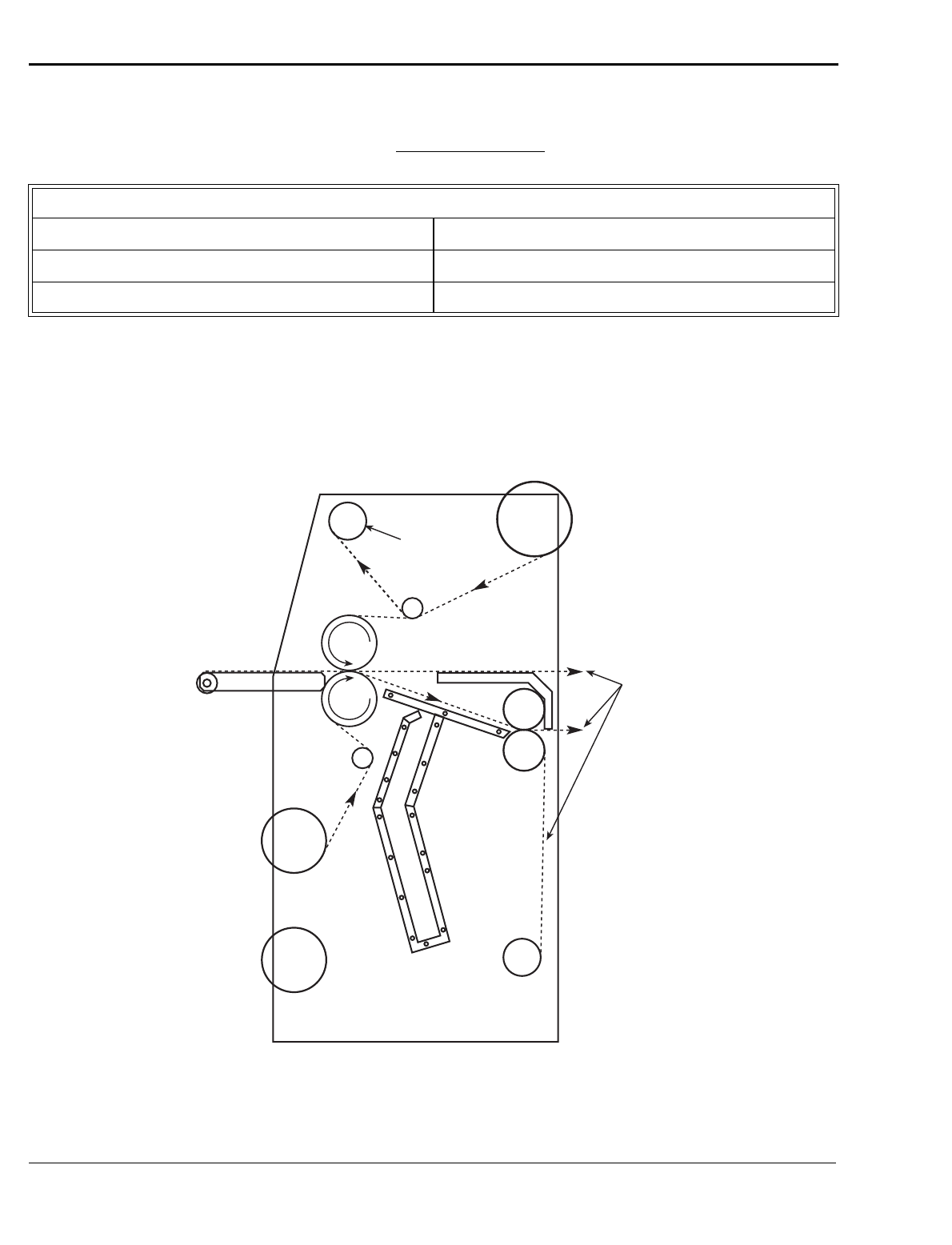
352&(66&21752/&+$57
Product: _________________________ Process: Cold Overlamination _________ Date: ________________
352&(66&21752/',$*5$0
Cold Overlamination
FRONT CONTROL SETTINGS
Speed: 0-6 fpm (0-180 cpm)
Reverse/Forward: Forward
Roll Pressure: 30-60%
Top Heater: 105 ºF (40 ºC)
Cooling: Off
Bottom Heater: 32 ºF (0 ºC)
Pro
Gloss
Craft
Paper
Release
Paper
Rewind
Use
Any
Path










