User's Manual

F-60 Operation and Maintenance Manual
Operation
© GBC Pro-Tech 1998 July
3-9
352&(66&21752/&+$57
Product:_________________________ Process: One Pass Mounting __________ Date:________________
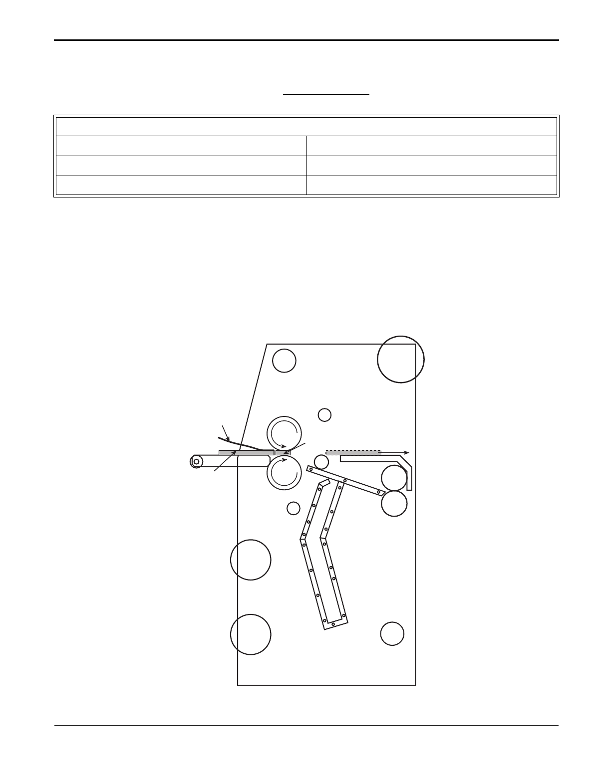
352&(66&21752/',$*5$0
One Pass Mounting
☞
NOTE
Guard is removed for this operation. Use automatic slow roll speed (3 ft/min). Footswitch may be used.
FRONT CONTROL SETTINGS
Speed: 2-3 fpm (60-90 cpm)
Reverse/Forward: Forward
Roll Pressure: Trial
Top Heater: 240 ºF (115 ºC)
Cooling: Off
Bottom Heater: Off
Printed
Image
Falcon
Board
Leader
Board










