Computer Products of America Image Scanner Operator's Guide fi-4990C
Table Of Contents
- Cover
- Inner Cover
- Revision Record
- Addresses
- IMPORTANT NOTE TO USERS
- Preface
- Conventions
- CONTENTS
- Chapter Index
- CHAPTER 1 COMPONENTS
- CHAPTER 2 INSTALLATION AND CONNECTIONS
- CHAPTER 3 OPERATING INSTRUCTION
- CHAPTER 4 DOCUMENT SPECIFICATION
- CHAPTER 5 SPECIFICATIONS
- CHAPTER 6 SETUP, BROWSE, AND TEST MODES
- Setup, Browse, and Test Modes
- Activating the Setup or Browse Mode
- Contents of the Setup or Browse Mode
- Transition of screens in setup mode
- Paper length check
- Doublefeed check
- Paper thickness setup
- Skew check
- IPC-3 mode
- Hopper height
- Paper separation level
- Drop-out color
- Background changeover
- Consumable counter
- Consumable counter reset
- Consumable alarm mode
- Buzzer
- Buzzer volume
- LCD contrast
- Picking speed
- TP_IF baud rate
- SCSI ID
- Product ID
- Pre-pick
- Pick start time
- Manual feed timeout
- Paper pick retry
- Paper feed retry
- Function key
- Setup mode lock
- Language
- White follower mode
- Interface board slot
- SCSI bus width setting
- Activating the Test Mode
- Contents of the Test Mode
- GLOSSARY OF TERMS
- INDEX
- Declaration of Conformity
- Back Cover

6-6
<<SETUP MODE>>
Paper Length Check
<<SETUP MODE>>
Paper Thickness Check
<<SETUP MODE>>
Langage
<<SETUP MODE>>
ENTER
ENTER
CANCEL
ENTER/CANCEL
<<SETUP MODE>>
SETUP BROWSE
ENTER
CANCEL
ENTER
ENTER/CANCEL
ENTER
ENTER/CANCEL
Setup mode menu screen
: Cursor buttons
: Blinking
* To save the change,
press ENTER.
To quit without saving
change, press CANCEL.
Paper Length Check
OFF 10mm
Paper Length Check
OFF 10mm
Paper Length Check
OFF 20mm
Paper Length Check
OFF 15mm
Paper Length Check
ON 10mm
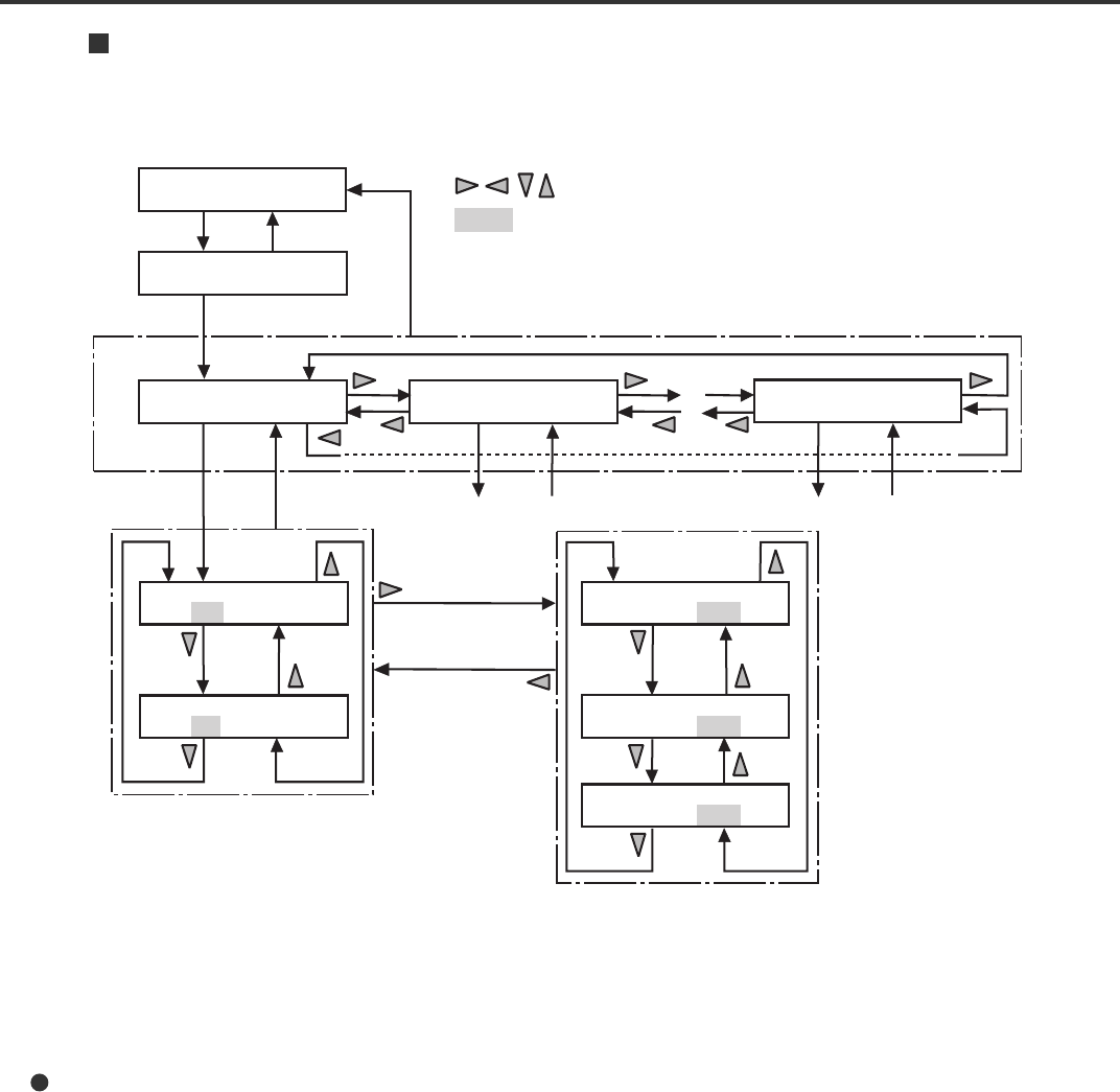
Transition of screens in setup mode
This flowchart indicates the transition of screens in setup mode for reference to the setup operation
described in the following pages.
13C6.P65 01.2.17, 5:46 PM6










