Products, Inc. Evaporative Cooler Owner's Manual

1105268
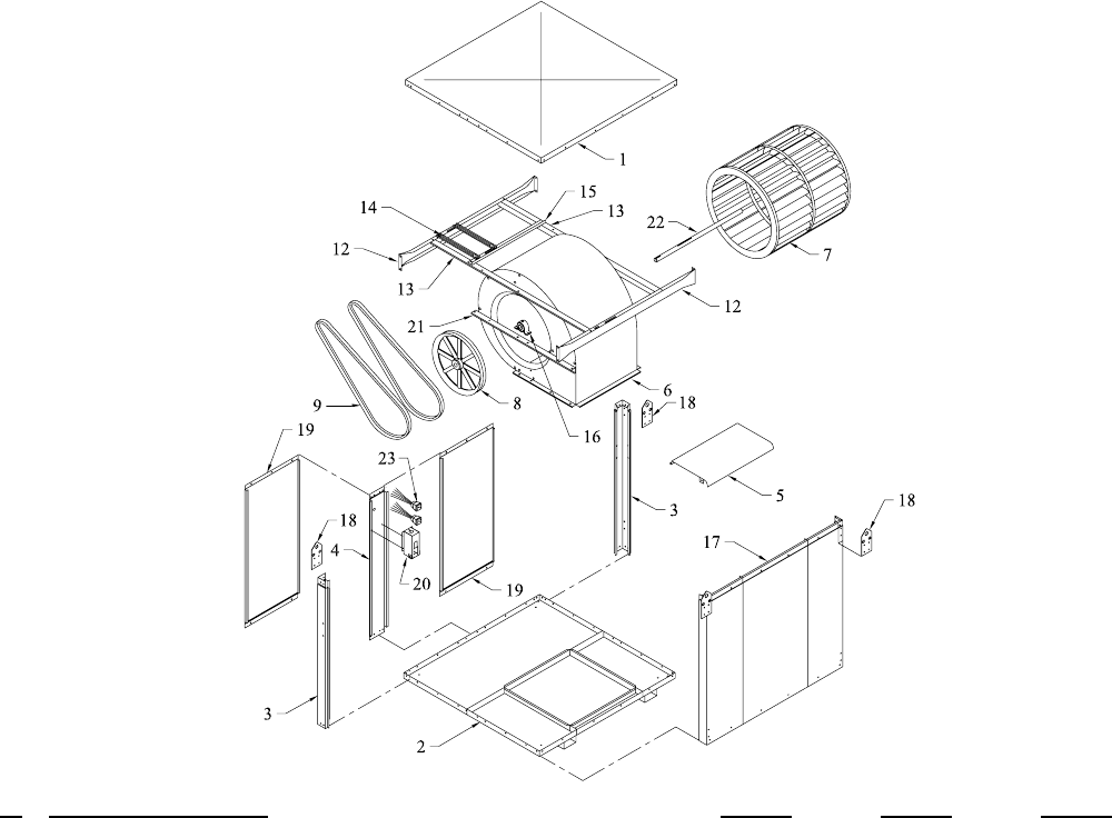
No.
N° Description / Descripción AD100B AD150B AD200B
1. Top, Cabinet / Tapa De La Caja ------------------------------------------------------------- 218115-003 218116-008 216117-003
2. Bottom, Cabinet / Base De La Caja ---------------------------------------------------------- 318115-005 318116-010 318117-007
3. Corner Post / Poste De Esquina -------------------------------------------------------------- 318115-013 318116-018 318117-012
4. Divider Channel / Canal Divisora ------------------------------------------------------------ 218115-014 218116-019 218117-013
5. Cut-Off Plate / Placa Limitadora ------------------------------------------------------------- 320102-002 318112-004 318112-003
6. Blower Housing / Caja De La Rueda -------------------------------------------------------- 322115-002 320116-001 320117-001
7. Blower Wheel / Rueda ------------------------------------------------------------------------- 110749 110750 110751
8. Pulley, Blower Wheel / Polea De La Rueda ------------------------------------------------ 110297 110298 110298
9. Drive Belt / Correa ----------------------------------------------------------------------------- † † †
10. Motor / Motor ----------------------------------------------------------------------------------- * * *
11. Pulley, Motor / Polea Del Motor ------------------------------------------------------------- † † †
12. Channel Retainer / Soporte De Canal -------------------------------------------------------- 214007-001 214007-006 214109-001
13. Motor Mount Support / Soporte Para La Montura Del Motor --------------------------- 214118-003 214116-008 206102-001
14. Motor Mount Adjustable Channel / Montura Ajustable Del Motor --------------------- 214112-002 214112-004 214112-004
15. Motor Mount Crossbrace / Travesaño De La Montura Del Motor ---------------------- 214001-005 214001-009 214001-007
16. Bearings, Blower Wheel Shaft / Cojinetes Del Eje De La Rueda ------------------------ 110355 110356 110356
17. Front Panel / Panel Del Frente---------------------------------------------------------------- 318115-024 318116-048 318117-011
18. Lift Bracket / Soporte De Levantamiento --------------------------------------------------- 212101-001 212101-001 212101-001
19. Inspection Panel / Panel De Inspección ----------------------------------------------------- 220115-003 220116-004 220116-007
20. Electrical Junction Box / Caja De Empalme ------------------------------------------------ 322009-003 322009-003 322009-003
21. Bearing Mount Support / Soporte Para Los Cojinetes ------------------------------------ 206100-002 206100-004 206100-005
22. Shaft, Blower Wheel / Eje De La Rueda ---------------------------------------------------- 110157 110158 110159
23. Receptacle, Pump / Toma De Corriente De La Bomba ------------------------------------ 110361 110361 110361
* See motor specifi cation table. / Vea la tabla de especifi caciones del motor.
† See pulley and belt table. / Vea la tabla de especifi caciones del polea y correa.
NOTE: Standard hardware items may be purchased from your local hardware store.
NOTA: Artículos de uso corriente pueden comprarse en la ferretería de su localidad.
Replacement Parts / Piezas De Repuesto
AD100B, AD150B, AD200B










