User manual
Manuals
Brands
EQ-3 Manuals
Smart Home
Adapter EQ3-ADA-GS Suitable for (switch brand) GI
1
2
3
4
5
6
7
8
6
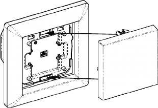
•
Befestigen Sie die Wippe mit dem
Adapter auf
dem Funk-Aktor
. Platzieren Sie den
Adapter
dabei so, dass die beiden Rasternasen in die
vorhandenen Langlöcher passen.
1
...
...
4
5
6
7
8