Instructions / Assembly

INSTALLATION
1
2
20
NOTE: Si vous avez des
questions concernant
l’installation électrique, veuillez
consulter le code de l’électricité
en vigueur dans votre province
pour connaître les méthodes de
mise à la terre approuvées.
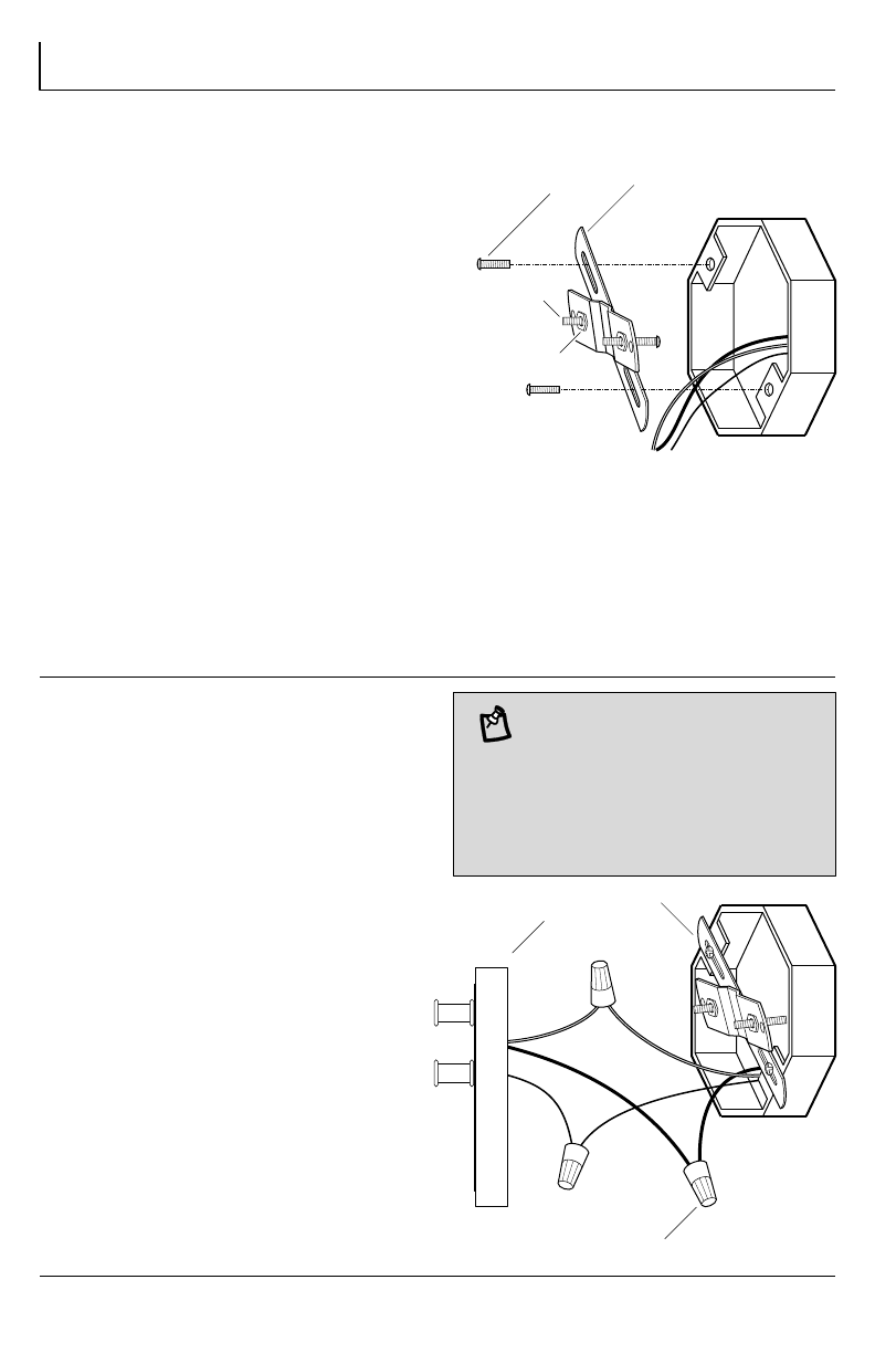
Reliez le fil d’alimentation noir au
fil noir du luminaire à l’aide d’un
capuchon de connexion (DD).
Reliez le fil d’alimentation blanc au
fil blanc du luminaire à l’aide d’un
capuchon de connexion (DD).
Reliez le fil de terre du luminaire
et le fil de terre de la boîte de
sortie à l’aide d’un capuchon de
connexion (DD).
Enroulez toutes les connexions
avec du ruban isolant pour plus de
sécurité.
Vissez les vis du luminaire (FF) dans
les trous prévus sur la plaque de
fixation (GG).
Vissez les écrous hexagonaux (BB) sur
les vis du luminaire (FF). Ne pas serrer
les écrous hexagonaux (BB) pour
l’instant.
Tirez les fils d’alimentation hors de la
boîte de sortie et installez la plaque de
fixation (GG) sur la boîte de sortie à
l’aide des vis de montage (EE).
EE
GG
FF
BB
Placer la plaque arrière du le corps du luminaire (A) au-dessus de la boîte de
sortie, en veillant à faire passer les vis du luminaire (nº 6) par les trous
prévus à cette fin.
Réglez les vis de luminaire (FF) jusqu'à ce qu'elles dépassent à partir de la
plaque arrière du le corps du luminaire 6.35 mm
Retirez la plaque arrière du le corps du luminaire (A) et fixez en place les vis
du luminaire (FF) en serrant les écrous hexagonaux (BB) contre la plaque de
fixation (GG).
DD
GG
A