Specifications

Preface TS-10 Musician’s Manual
iv
Ground Loops
Sometimes currents flowing through the ground line generate a signal seen by another part of the
circuit sharing the same ground. In other words, if there are two identical signal paths within a
circuit, they can form a loop which can result in hum and/or noise. If you are using equipment
that has 3-prong “grounded” AC power cords, you may suffer from a ground loop resulting from
the interconnection of this equipment. The following diagram shows how cascading or
“chaining” the output of one 3-prong grounded system into the input of another 3-prong
grounded system with a standard unbalanced 2 conductor cord (like a 1/4” guitar cable) can
result in a ground loop.
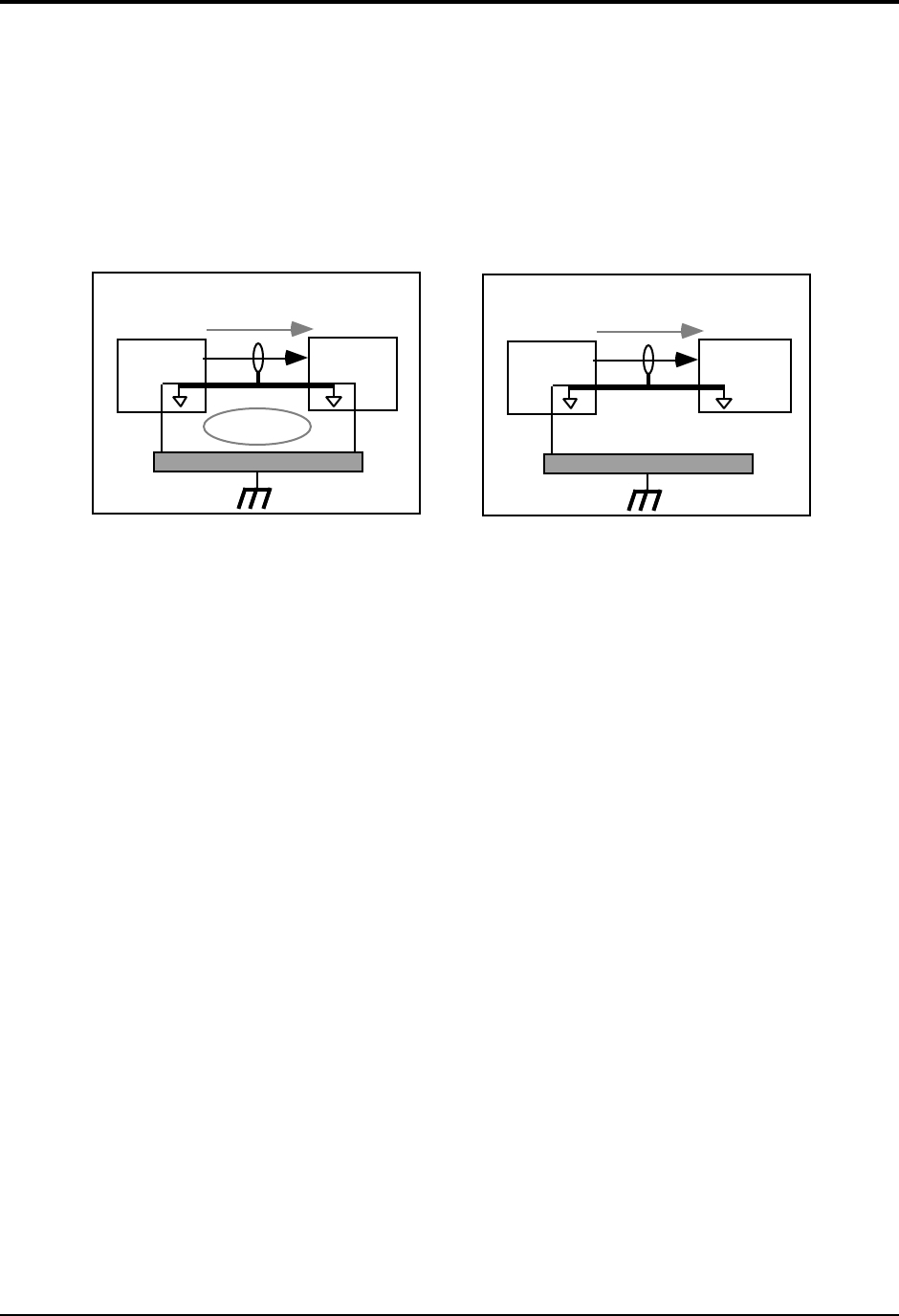
(circuit ground)
+
+
3-Prong
"Grounded"
System
3-Prong
"Grounded"
System
Earth Ground
SIGNAL PATH
Unbalanced Output to Unbalanced Input.
Single conductor shielded cable
Ground Loop
>
<
FIG. 1
(circuit ground)
+
+
3-Prong
"Grounded"
System
2-Prong
"UNGrounded"
System
Earth Ground
SIGNAL PATH
Unbalanced Output to Unbalanced Input.
Single conductor shielded cable
FIG. 2
Fig. 1 depicts a system interconnection where a ground loop can exist. Fig. 2 depicts a system
interconnection where a ground loop does NOT exist. When interconnecting 3-prong grounded
systems, you can use signal isolation transformers to prevent ground loops. This coupling
transformer effectively isolates two interconnected system signal grounds, while still allowing
the signal to pass through.
AC Line Conditioning
As with any computer device, the TS-10 is sensitive to sharp peaks and drops in the AC line
voltage. Lightning strikes, power drops or sudden and erratic surges in the AC line voltage can
scramble the internal memory and, in some cases, damage the unit’s hardware. Here are a few
suggestions to help guard against such occurrences:
• A Surge/Spike Suppressor. The cheaper of the options, a surge/spike suppressor absorbs
surges and protects your gear from all but the most severe over-voltage conditions. You can
get multi-outlet power strips with built-in surge/spike suppressors for little more than the
cost of unprotected power strips, so using one is a good investment for all your electronic
equipment.
• A Line Conditioner. This is the best, but by far the more expensive, way to protect your gear.
In addition to protecting against surges and spikes, a line conditioner guards the equipment
against excessively high or low line voltages. If you use the TS-10 in lots of different locations
with varying or unknown AC line conditions, you might consider investing in a line
conditioner.










