Specifications

Section 11 — Sequencer Parameters TS-10 Musician’s Manual
16
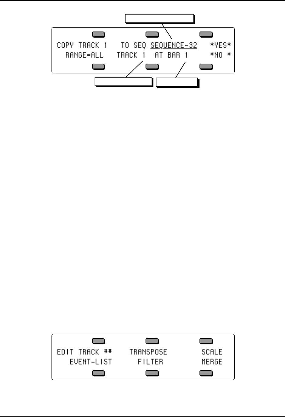
Destination Sequence
Destination Track
Starting Bar
• If you want to copy the source track to a different sequence, select the destination sequence by
using the data entry controls to choose the one you want. Notice that only predefined
sequences can be selected. The default is the current sequence, the one the source track is in.
• Select the destination track and use the data entry controls to select a track for the source track
to be copied into.
• Press the soft button beneath the destination track again to move the underline to the starting
bar. The data from the source track will be copied into the destination track starting from the
beginning of the bar specified here. The default is bar 1, the beginning of the track.
• If you wish to copy a specific range rather than the entire track, press RANGE and set the time
and/or key range on the Edit Track Range page, as shown earlier in this section. If not, leave
it set to RANGE=ALL.
• Press *YES* to execute the copy command (or press *NO* to cancel). After editing, the TS-10
returns with the Audition Play/Keep page where you can audition the results of the edit
before deciding whether to keep it or not.
Note: The Copy Track function behaves differently depending on whether or not there is already
recorded data on the destination track:
• If the destination track is empty (no track data), both the track data and all the track
parameters (Mix, Pan, Timbre, etc.) from source track will be copied to the destination track.
• If the destination track already contains recorded track data, after you press *YES* to copy the
track, the display will warn: DATA ON DESTINATION TRACK WILL BE LOST. Press *YES*
to proceed, or press *NO* to exit and select a different destination track.
• After you press *YES*, the display asks COPY TRACK PARAMETERS TOO?
> Press *YES* to copy both the recorded track data and all the track parameters to the
destination track.
> Press *NO* to copy only the recorded track data to the destination track, leaving the values of
all the track parameters as they were before.
*MORE* — Additional Track Edit functions
Pressing *MORE* from the Edit Track page displays a sub-page which contains five additional
track editing options. Pressing the Edit Track button twice will also take you directly to this
page. Press *MORE*. The display shows:










