
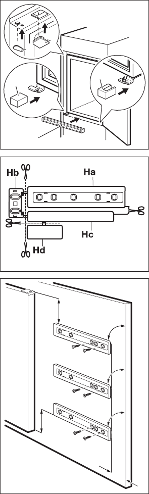
E
E
B
D
C
Wcisnąć zaślepki (C, D) w otwory montażowe i ot‐
wory zawiasów.
Zamontować kratkę wentylacyjną (B).
Założyć osłony zawiasów (E) na zawiasy.
Rozdzielić elementy (Ha), (Hb), (Hc) i (Hd).
21 mm
~50 mm
~50 mm
90
o
90
o
90
o
Zamontować prowadnicę (Ha) po wewnętrznej
stronie drzwi szafki.
76
www.electrolux.com