User manual

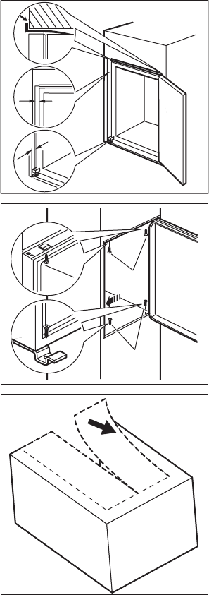
44mm
4mm
Wypoziomować urządzenie we wnęce.
Upewnić się, że odległość między urządzeniem a
przednią krawędzią szafki wynosi 44 mm.
Osłona dolnego zawiasu (znajdująca się w toreb‐
ce z akcesoriami) zapewnia prawidłowy odstęp
pomiędzy szafką a urządzeniem.
Upewnić się, że między urządzeniem a szafką są
4 mm wolnej przestrzeni.
Otworzyć drzwi. Zamocować osłonę dolnego za‐
wiasu w odpowiednim położeniu.
I
I
Przykręcić urządzenie do wnęki 4 wkrętami.
Usunąć właściwą część osłony zawiasu (E). Nale‐
ży zwrócić uwagę, aby usunąć część DX, gdy za‐
wias zamontowano po prawej stronie, lub część
SX, gdy zawias znajduje się po lewej stronie.
POLSKI 75










