User's Manual
Manuals
Brands
Eclipse - Fujitsu Ten Manuals
Car Stereo System
Eclipse - Fujitsu Ten Eclipse - Fujitsu Ten Car Stereo System CD3424
71
72
73
74
75
76
77
78
79
80
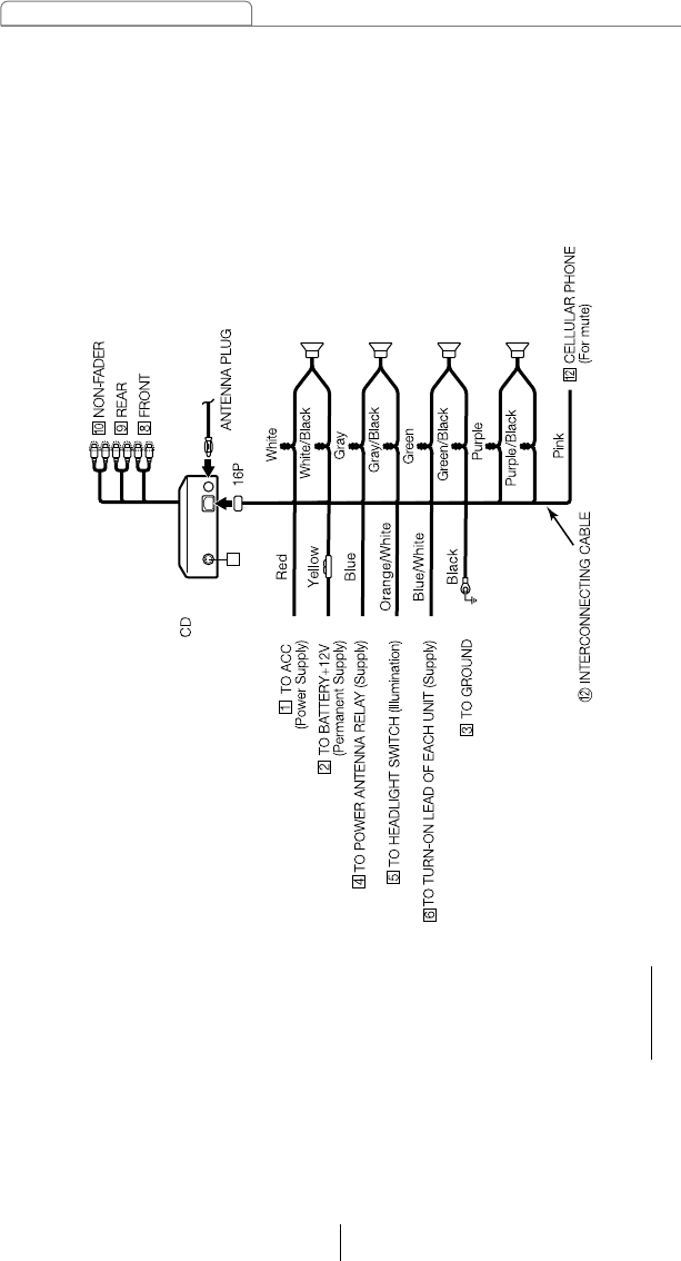
74
Mounting instruction
7
3424
FL
FR
RL
RR
(+)
(–)
(+)
(–)
(+)
(–)
(+)
(–)
1) CD3424 Receiver
, used alone
Caution
Never connect the power supply to the speaker leads, otherwise it cause damage to the main unit.
1
...
...
72
73
74
75
76
...
...
82