User's Manual

63
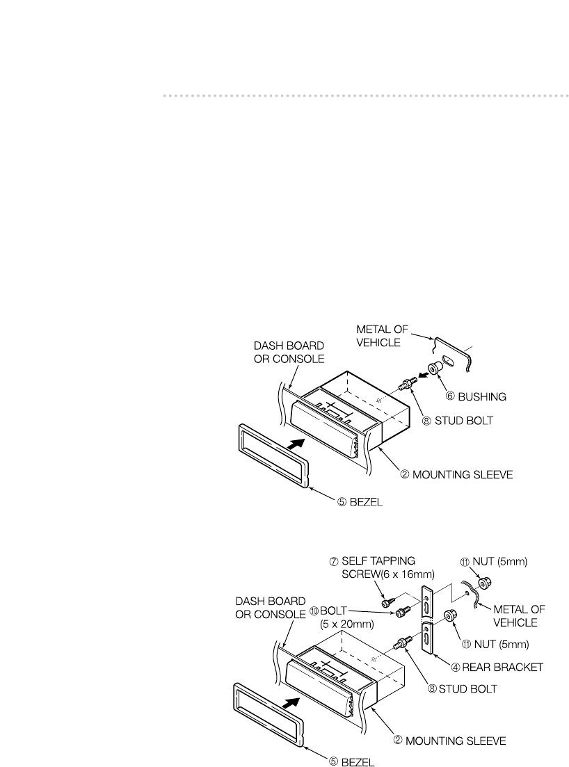
Mounting instruction
4 .
Mount the stud bolt to the main unit.
5 .
Insert the main unit into the mounting sleeve
until it locks in place.
6 .
F
asten the rear of the main unit using either
method [A] or [B].
Select method [A] or [B] to suit the interior configuration
of the vehicle.
7 .
Install the bezel on the main unit.
[A]
[B]
TOPTOP
TOPTOP










