CD/MS Receiver with MP3/ATRAC3 Decoder and Remote Owner's Manual

145
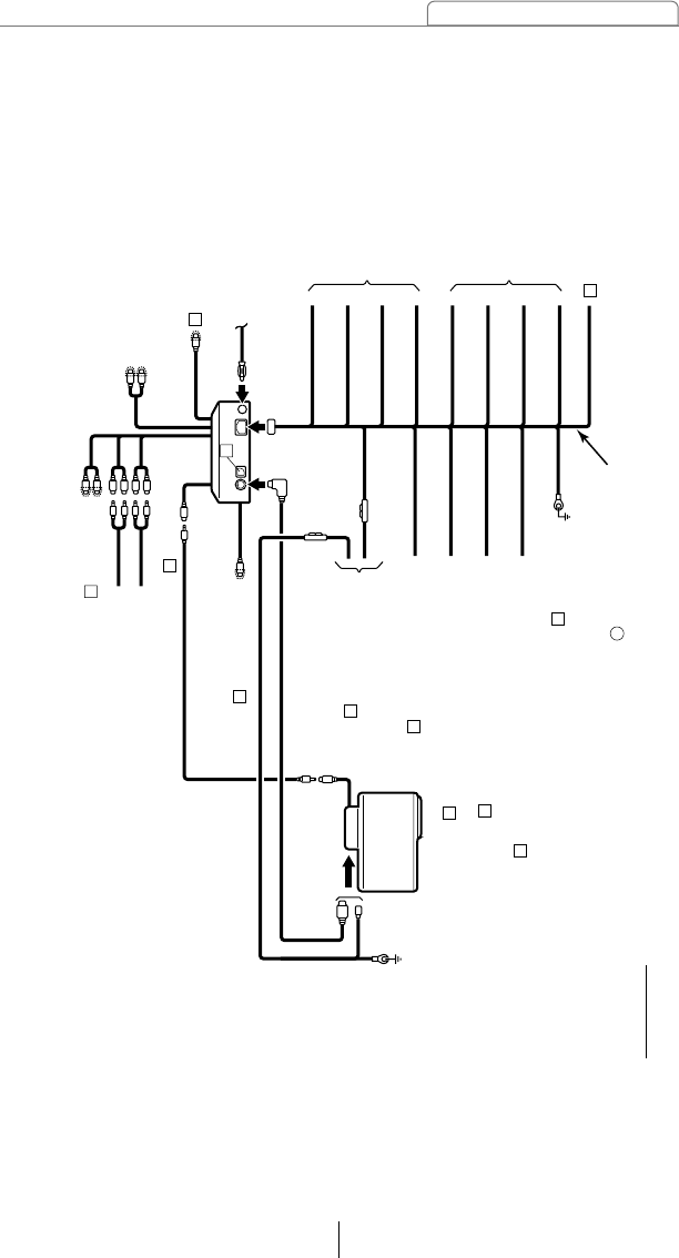
Mounting instruction
TO POWER ANTENNA RELAY (Supply)
TO HEADLIGHT SWITCH (Illumination)
TO TURN-ON LEAD OF EACH UNIT (Supply)
TO ACC (Power Supply)
1
TO BATTERY+12V
(Permanent Supply)
2
TO GROUND
Pink (+)
Purple/Black (
-
)
Black
Purple (+)
Green/Black (
-
)
Blue/White
Orange/White
Blue
Red
Yellow
Green (+)
Gray/Black (
-
)
White/Black (
-
)
White (+)
13P
13P
16P
CD5444
2P
ANTENNA PLUG
CH3083
Gray (+)
3
4
5
6
CELLULAR PHONE
(For mute)
12
NO CONNECTION
E-COM OUTPUT
14
DIGITAL IN
13
INTERCONNECTING CABLE
12
TO SIGNAL INPUT
OF AUXILIARY
POWER AMPLIFIER
INSULATE EACH
WIRE WITH TAPE
INSULATE EACH
WIRE WITH TAPE
CD5444+ CH3083 + Power Amplifier
2)
To Portable unit
(MP3 Player, MD Player, etc)
NON-FADER
10
15
16
Caution
Never connect the power supply to the speaker leads, otherwise it cause damage to the main unit.
2) CD5444 + CH3083 + Power Amplifier










