user manual
Manuals
Brands
Eclipse - Fujitsu Ten Manuals
Car Stereo System
Car Stereo System CD3424
71
72
73
74
75
76
77
78
79
80
75
Mounting instruction
CD3424
CH3083
(+)
(
–
)
(+)
(+)
(+)
(
–
)
(
–
)
(
–
)
2) CD3424 + CH3083 + P
ower Amplifier
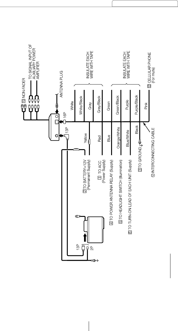
Caution
Never connect the power supply to the speaker leads, otherwise it cause damage to the main unit.
1
...
...
73
74
75
76
77
...
...
82