User's Manual

Choose one of the following TV connections, depending on the capabilities of your equipment.
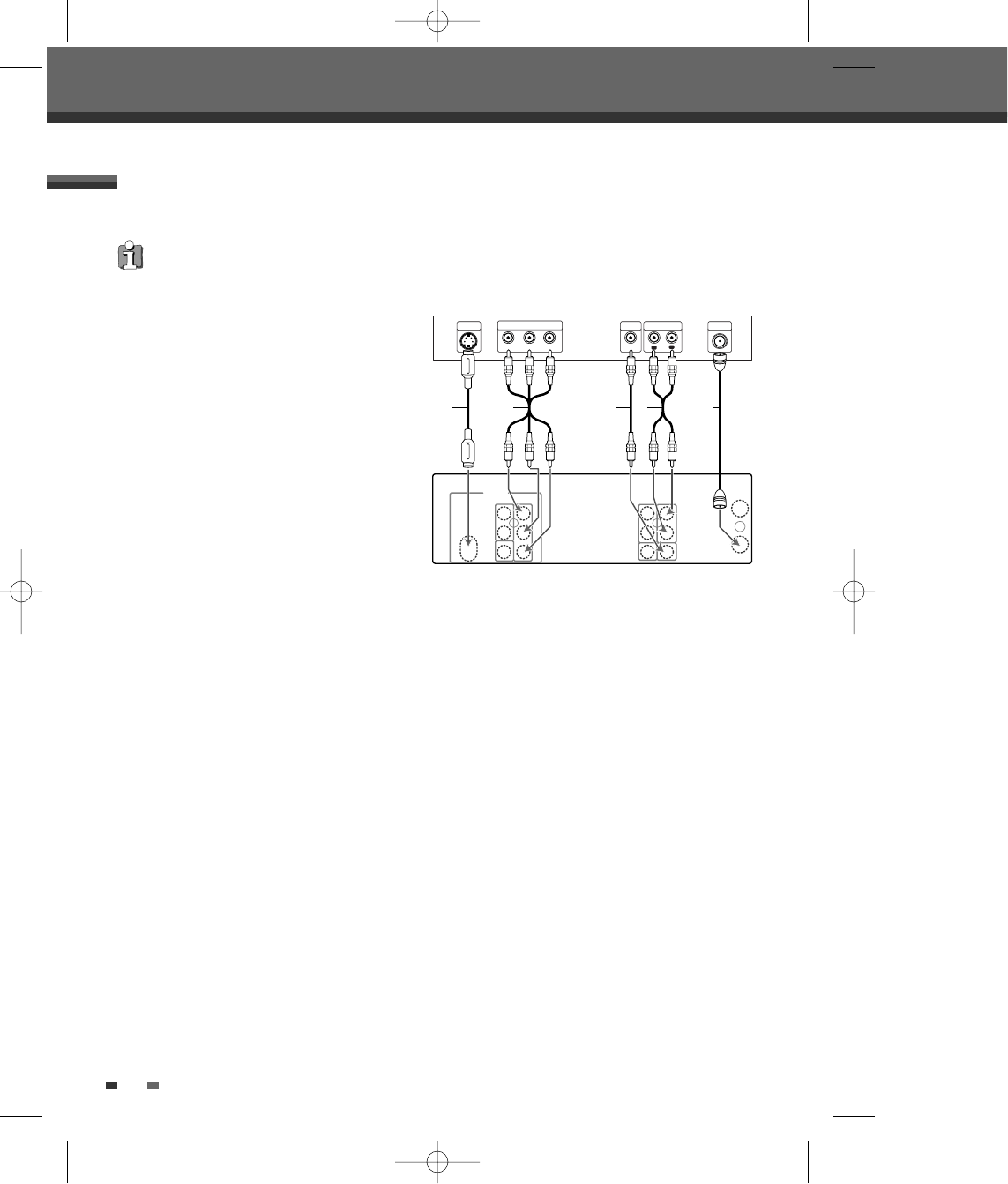
RF Coaxial Connection
Connect the RF OUT (TO TV) jack on the DVD
Recorder+VCR to the antenna in jack on your TV using
the supplied 75-ohm coaxial cable (R). If you use this
connection, tune your TV to the DVD Recorder+VCR’s
RF output channel (CH 3 or 4).
How to set the DVD Recorder+VCR’s RF output channel
Press [SETUP] and select Modulator out then press
[ENTER] to change the RF out channel. For details
refer to page 24.
Audio/Video Connection
1
Connect the VIDEO OUT jack on the DVD
Recorder+VCR to the video in jack on your TV
using the supplied video cable (V).
2
Connect the Left and Right AUDIO OUT jacks
from the DVD Recorder+VCR to the left/right audio in jacks on your TV using the supplied audio cables (A).
S-Video Connection
1
Connect the S-VIDEO OUT jack on the DVD Recorder+VCR to the S-Video in jack on your TV using an S-
Video cable (S).
2
Connect the Left and Right AUDIO OUT jacks from the DVD Recorder+VCR to the left/right audio in jacks on
your TV using the supplied audio cables (A).
Component Video Connection
1
Connect the COMPONENT/PROGRESSIVE VIDEO OUT jacks on the DVD Recorder+VCR to the corresponding
in jacks on your TV using a Y Pb Pr cable (C) if the component (Y, Pb, Pr) is available on your TV.
2
Connect the Left and Right AUDIO OUT jacks from the DVD Recorder+VCR to the left/right audio in jacks on
your TV using the supplied audio cables (A).
Connecting a TV
16
Connections
All video signals are available from all video outputs.
That means that whichever TV connection you use, it will
work with all input sources, including VHS out of the Component/Progressive Video Output.
ANTENNA
INPUT
L
R
Y
Pb
Pr
COMPONENT/PROGRESSIVE VIDEO INPUT
AUDIO INPUT
VIDEO
INPUT
S-VIDEO
INPUT
Rear of TV
S-VIDEO
OUT
OUT
DIGITAL
AUDIO OUT
AUDIO OUT COMPONENT OUT
LINE 2
AUDIO
VIDEO
L
R
L
R
COAXIAL
Y
Pb
Pr
RF OUT
ANT. IN
DVD & VCR OUT
Rear of DVD Recorder+VCR
R
S AVC
DWL71D1D_ RV 4000(GB) 04.6.1 1:45 AM 페이지16










