OWNER'S OPERATION AND INSTALLATION MANUAL DIRECT-VENT FIREPLACE (V)T32N-A SERIES,CGDV32NR,(V)T32P-A SERIES,CGDV32PR
Table Of Contents
- Safety Information
- Product Identification
- Local Codes
- Product Features
- Pre-Installation Preparation
- Location of Termination Cap
- Venting Installation Instructions
- Fireplace Installation
- Operating Fireplace
- Inspecting Burners
- Cleaning and Maintenance
- Troubleshooting
- illustrated Parts Breakdown and Parts List
- Replacement Parts
- Specifications
- Service Hints
- Technical Service
- Owner's Registration Form
- Accessories
- Warranty Information

www.desatech.com
116646-01B
10
Horizontal High
Wind Square
Termination
Wall Firestop
45° Elbow
Figure 14 - Horizontal Termination Configuration for Square or
Round Terminations
45° Elbow
Wall
Firestop
Horizontal
Round
Termination
Exterior Portion of
Wall Firestop (Round
Termination Only)
GROUND FLOOR INSTALLATION
Recommended Applications:
• Installation using cabinet surrounds
• Through the wall using round or square termination
(up to 12" horizontal pipe)
• NOT FOR CORNER INSTALLATION
VENTING INSTALLATION
INSTRUCTIONS
Continued
VENTING INSTALLATION INSTRUCTIONS
Installation Planning (Cont.)
Adjustable
Pipe 12" Max.
Horizontal Termination Configurations
Figures 14 through 18 show different configurations and alternatives
for venting with horizontal termination. Each figure includes a chart
with critical minimum and maximum dimensions which MUST be
met. IMPORTANT: Remember that a horizontal run of venting must
have a 1/4" rise for every 12" of run toward the termination.
NOTICE: Do not seal termination cap to vent pipe.
Cap must be removable for vent inspection and
maintenance.
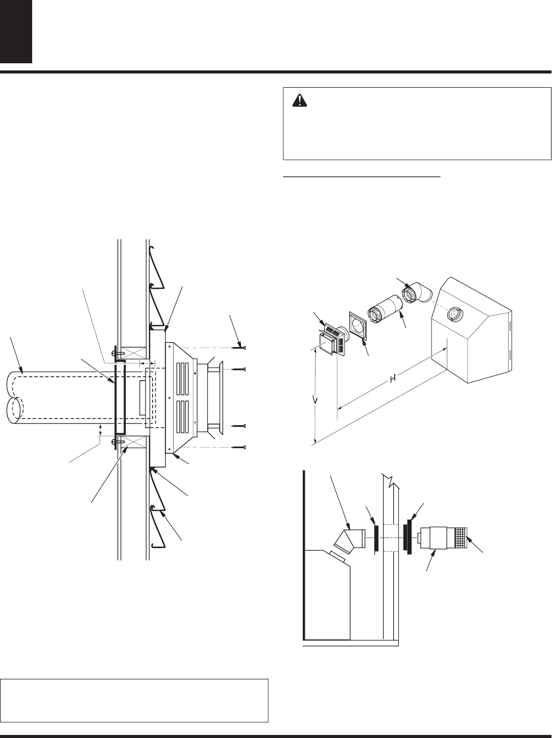
Figure 13 - Typical Horizontal Termination Cap Mounting with
Additional Siding Standoff Installed
Siding Standoff
Screws
Termination
Apply Mastic to
Outside Edge of
Standoff
Exterior Wall
with Vinyl Siding
10
3
/4" x 10
3
/4"
Framed Opening
Maintain 1"
Minimum Air
Space Around
Outer Pipe When
Penetrating a Wall
Minimum Pipe
Overlap 1
1
/4"
Wall
Firestop
Direct Vent
Pipe
WARNING: Never run vent downward as this may
cause excessive temperatures which could cause a
fire. Operation of improperly installed and maintained
venting system could result in serious injury, property
damage or loss of life.
9. Combustible Exterior Wall Only: Slide wall firestop against
interior wall surface and attach with screws provided. See
Figure 13 for horizontal termination details.
10. Place fireplace into position and shim with noncombustible ma
-
terial if needed. Nail or screw side flanges to framing to secure
unit in place. IMPORTANT
: Make sure fireplace is level before
securing. If fireplace is not level it will not work properly.
Round Termination
(Kit HTK Shown)
Square Termination
Vertical (V) Horizontal (H)
29
3
/4" min. 17" max.
Slide Ring Over
Elbow to Complete
Connection










