Indoor Fireplace User Manual
Table Of Contents

www.desatech.com
107777-01E 9
INSTALLATION DU SYSTÈME DE VENTILATION
suite
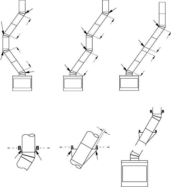
UTILISATION DE COUDES DE
1. An d'obtenir le décalage voulu, vous
pouvez installer toute combinaison de
sections de conduit à double paroi de
30, 45, 60, 90 et 120 cm (12, 18, 24, 36
et48po)(voirletableaudesdécalages
etlagure9).
Remarque : dans le cas des systèmes avec
deux coudes, la hauteur minimale est de
6,7 m (22 pi). La hauteur maximale de tous
les systèmes est de 15 m (50 pi).
2. Le poids de la cheminée au-dessus du
décalage repose sur le coude de retour.
Des attaches doivent être solidement
clouées aux solives ou aux chevrons (voir
gure10,détailsAetB).
3. La longueur maximale du conduit entre les
supports(coudederetourou12S-8DM)
est 1,82 m (6 pi) de longueur d'angle.
On peut installer un maximum de deux
sections de longueur d'angle de 1,82 m
(6pi)parcheminée(voirgure9).
4. Tous les raccords de conduit entre le
décalageetleretourdoiventêtrexésà
l'aide de deux vis sur le conduit extérieur
uniquement(voirgure11,page10).Ne
perforez pas le conduit intérieur en acier
inoxydable.
Figure 9 - Installation représentative d'un décalage
Coude
de retour
Coude de
décalage
Coude
de retour
Coude de
décalage
1,8m(6pi)max.
1,8m(6pi)max.
1,8 m
(6pi)
max.
1,8 m
(6pi)
max.
1,8 m
(6pi)
max.
1,8 m
(6pi)
max.
Coude
de retour
Coude de
décalage
Coude de
décalage
Coude
de retour
A B C
Coude de
décalage
Support
de plafond
de conduit
12S-8DM
Coude
de retour
Figure 10 - Conduit de support de plafond 12S-8DM
5 cm
(2po)
min.
Attaches
Attaches
Attaches
Attaches
Détail A
Coude de retour
Détail B
Coupe-feu en angle
Voir détail A
Voir détail B
Conduit de support
de plafond 12S-8DM










