Installation Guide

Instalación
2
Instalación de la Cabeza de la Regadera y el Surtidor de la Bañera
5
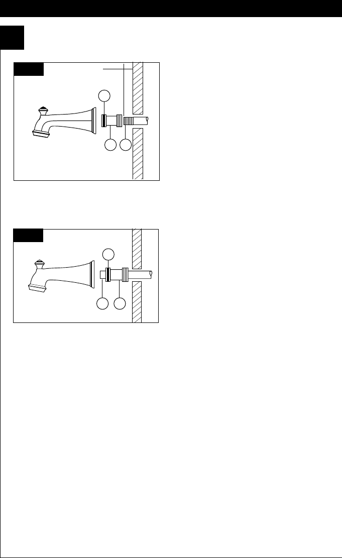
Instalación de Soldadura de Cobre
Quite el aro O (1) del adaptador (2). Suelde el
adaptador al tubo asegurando de mantener
la soldadura lejos de las muesca del aro O.
AVISO: NO SE PERMITE SOLDAR EN EL
DIAMETRO EXTERIOR DEL ADAPTADOR
ADJUNTO A LA MUESCA DEL ARO O. Corte
el tubo (3) y coloque otra vez el aro O en la
muesca del adaptador de latón. Atornille la
bañera/surtidor al adaptador, asegurando no
dañar el aro O, y apriete a mano bien hasta que
el surtidor quede rmemente contra la pared
acabada y no quede ojo detrás de la pared.
B-4
3 2
1
Instalación del tubo de hierro
Instalación del tubo de salida de agua del
easy-on universal para bañeras
Instale la entrerrosca del tubo de manera que
el extremo de ésta sobresalga de la pared
acabada 1/2" a 1 1/4" (13 mm a 32 mm).
Aplique cinta para plomero o compuesto
para tubos a las roscas del tubo. Apriete a
mano el adaptador (1) a la entrerrosca del
tubo (2). Termine apretando con una llave de
tubos estándar hasta que el sello positivo se
implemente. Tenga cuidado de no dañar la
muesca del anillo-O (3). La parte posterior del
adaptador (1) no debe sobresalirse más de 1"
(25 mm) de la supercie de la pared acabada.
Apriete a mano el tubo de salida de agua de la
bañera al adaptador (1) teniendo cuidado de no
dañar el anillo - O (3).
B-3
1/2" a 1 1/4"
(13 mm a 32 mm)
1 2
3
68883 Rev.F










