Installation Guide

Instalación
2
5
Instalación de la Cabeza de la Regadera y el Surtidor de la Bañera
PARA LA INSTALACIÓN DEL SURTIDOR DE LA BACERA: Refiérase a las instrucciones para la
instalación suministradas con su surtidor. No conecte los surtidores para las instalaciones en las
superficies horizontales en las válvulas dentro de las paredes. No use las regaderas de mano en vez
de un surtidor de bañera conectado a una válvula de bañera/regadera. No use la tubería PEX como
tubería entre la válvula y el surtidor de la bañera.
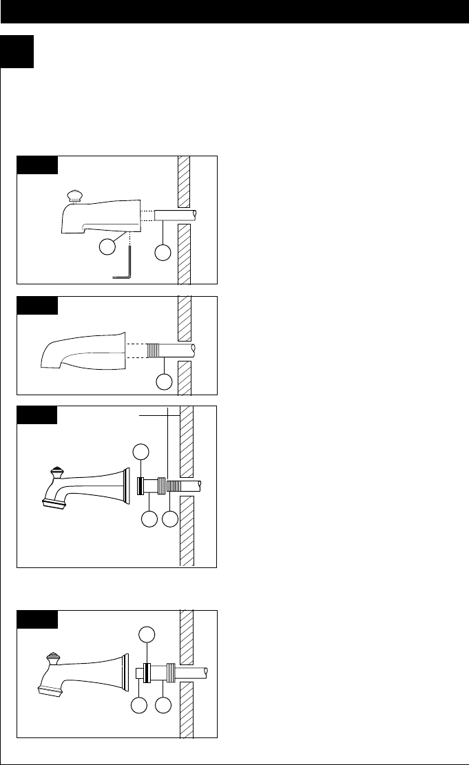
Instalación deslizable
El tubo de cobre (1) debe ser de1/2” de cobre
nominal. Importante: Si es necesario cortar el
tubo de cobre, el extremo debe biselarse que
quede libre de rebabas para prevenir cortar o
mellar el aro O dentro del tubo de cobre. Deslice
el surtidor sobre el tubo de cobre al ras con la
bañera o la superficie de la pared acabada.
Apriete el tornillo de ajuste (2), pero no apriete
demasiado.
Instalación de la tubería de Hierro
IInstale una entrerrosca de tubo enroscado de
1/2” (13 mm) (1) para extenderse por delante
de la pared acabada. Aplique cinta para plomero
a las roscas en la entrerrosca de tubo y atornille el
surtidor de la bañera.
Instalación de Soldadura de Cobre
Quite el aro O (1) del adaptador (2). Suelde el
adaptador al tubo asegurando de mantener la
soldadura lejos de las muesca del aro O. AVISO:
NO SE PERMITE SOLDAR EN EL DIAMETRO
EXTERIOR DEL ADAPTADOR ADJUNTO A
LA MUESCA DEL ARO O. Corte el tubo (3)
y coloque otra vez el aro O en la muesca del
adaptador de latón. Atornille la bañera/surtidor
al adaptador, asegurando no dañar el aro O, y
apriete a mano bien hasta que el surtidor quede
firmemente contra la pared acabada y no quede
flojo detrás de la pared.
C-2
C-1
1
2
1
1
2
3
Instalación de la tubería de Hierro
Instalación del tubo de salida de agua del easy-
on universal para bañeras
Instale la entrerrosca del tubo de manera que el
extremo de ésta sobresalga de la pared acabada
1/2" a 1 1/4" (13 mm a 32 mm).
Aplique cinta para plomero o compuesto para tubos
a las roscas del tubo. Apriete a mano el adaptador
(1) a la entrerrosca del tubo (2). Termine apretando
con una llave de tubos estándar hasta que el sello
positivo se implemente. Tenga cuidado de no dañar
la muesca del anillo-O (3). La parte posterior del
adaptador (1) no debe sobresalirse más de 1" (25
mm) de la superficie de la pared acabada.
Apriete a mano el tubo de salida de agua de la
bañera al adaptador (1) teniendo cuidado de no
dañar el anillo - O (3).
C-3
1/2" a 1 1/4"
(13 mm a 32 mm)
1 2
3
68881 Rev. G










