Specification

Frosted Oval LED Mirror
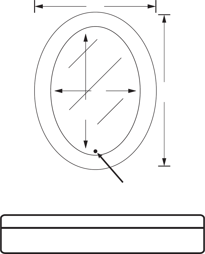
A
23”
B
29”
C
17”
D
23”
Model # A B C D
2025 23 ”
58 cm
29 ”
74 cm
17 ”
43 cm
23 ”
58 cm
On/Off
Touch Switch

Summary of content (1 pages)