Installation manual
Manuals
Brands
Datalogic Manuals
Print & Scan
DS2400N-2210
71
72
73
74
75
76
77
78
79
80
DS2400N REFERENCE MANUAL
60
5
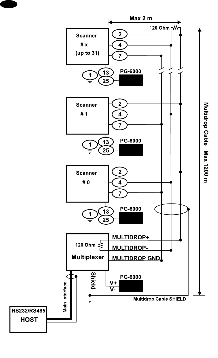
Figure 66 - DS2400N Multidrop Connecti
o
n to a Multiplexer
1
...
...
70
71
72
73
74
...
...
119