Service manual

Table Of Contents
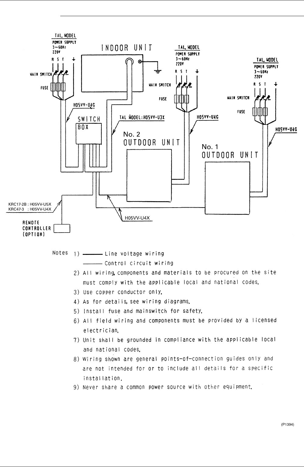
Si42-107 Wiring Diagram
Appendix 105
',H(-4%