Service manual

Table Of Contents
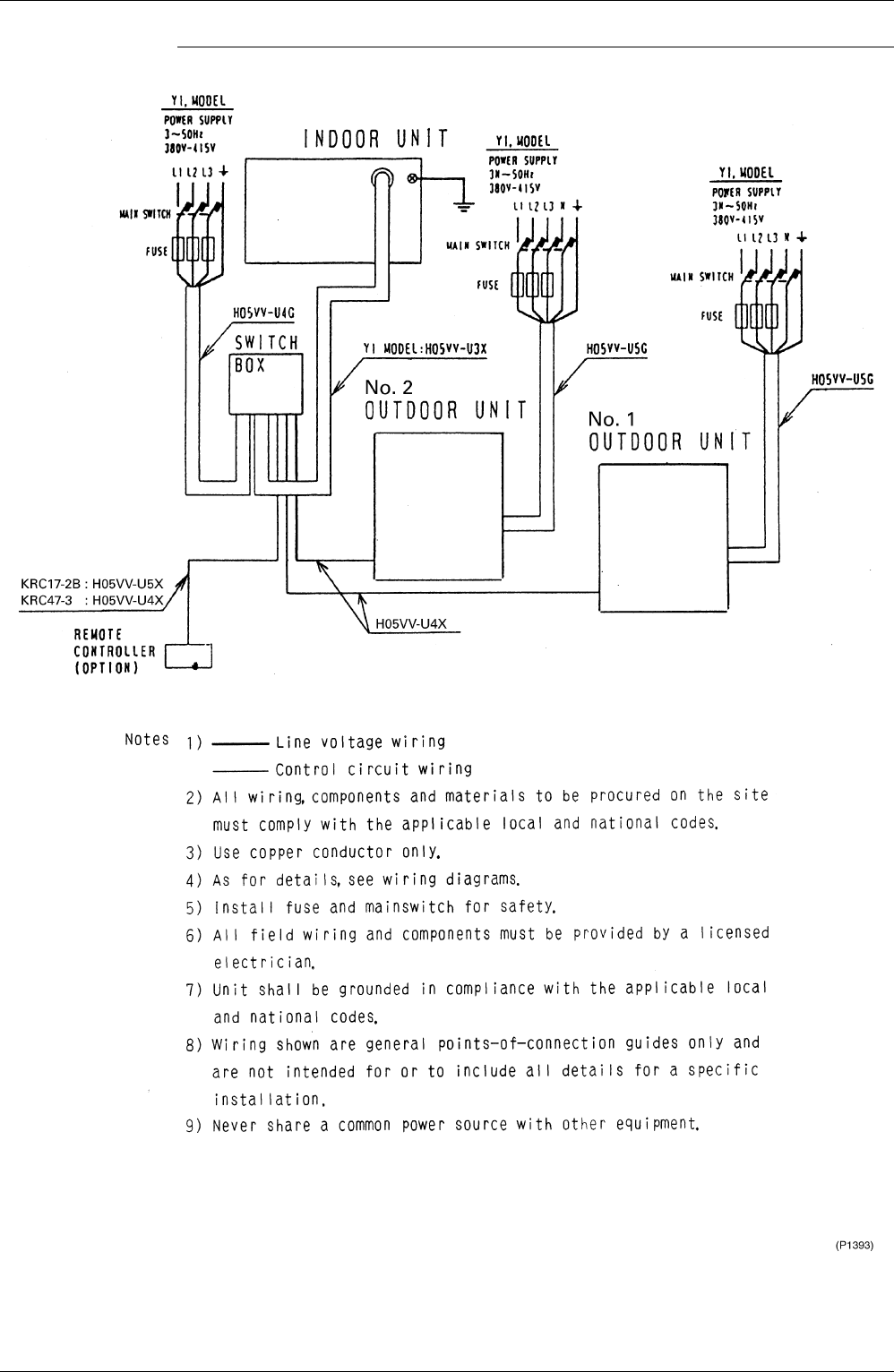
Wiring Diagram Si42-107
96 Appendix
',H(-.