Service manual

Table Of Contents
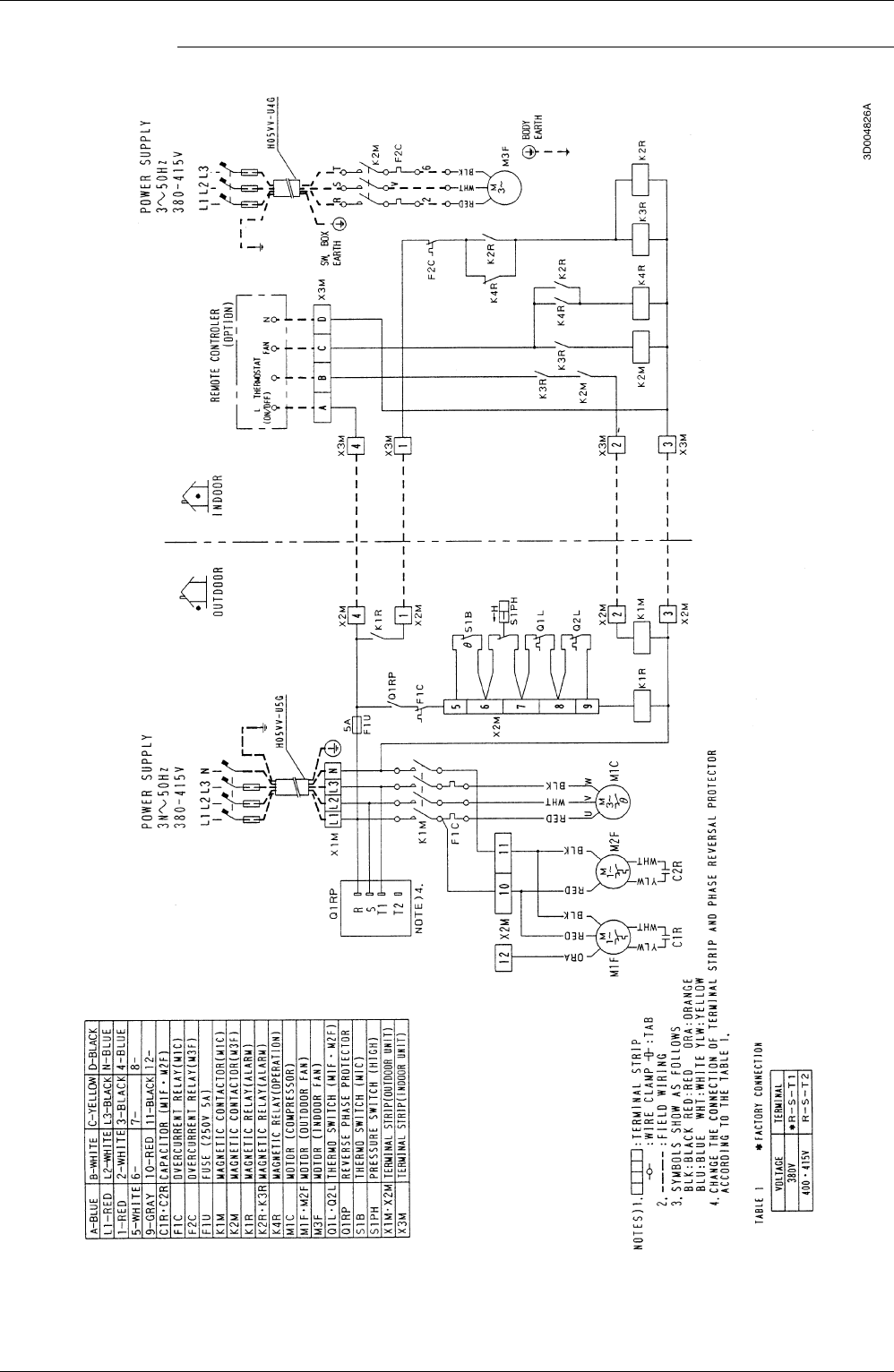
Si42-107 Wiring Diagram
Appendix 93
',(1-.C(1-.F',(-.C(-.