Instruction Manual
Manuals
Brands
Crown Audio Manuals
Receivers and Amplifiers
Macro-Tech MA-5000VZ
21
22
23
24
25
26
27
28
29
30
Page 30
Macro-
T
ech 5000VZ
Power Amplifier
Reference Manual
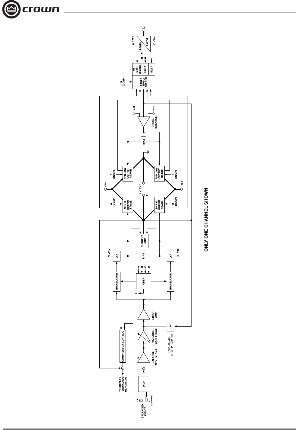
Fig. 5.5 Circuit Block Diagram
1
...
...
27
28
29
30
31
...
...
43