User manual

Table Of Contents
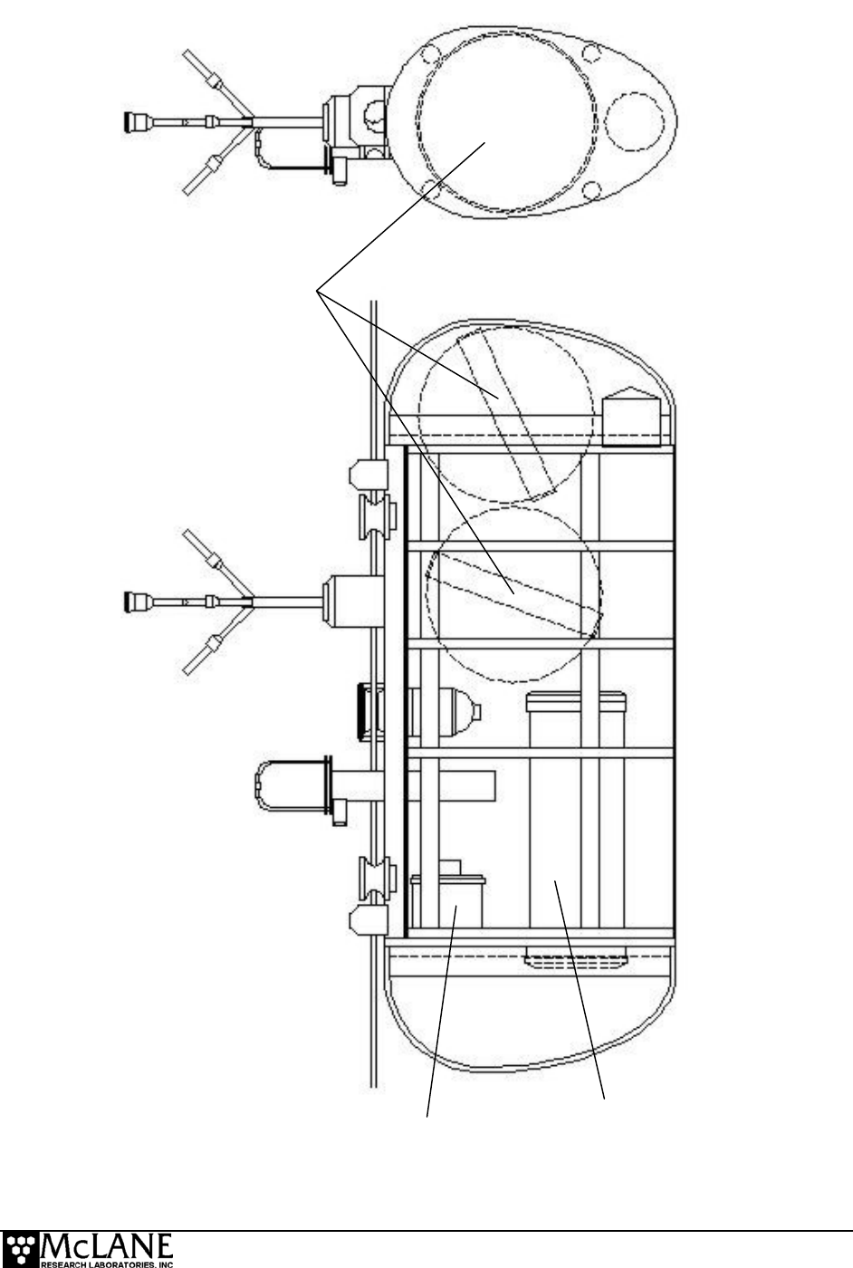
ACM
Sting
CTD
ACM
Sting
Guide Wheel and
Cable Retainer
Drive Motor
Guide Wheel and
Cable Retainer
Controller
Housing
Glass Spheres
Mooring Cable
CTD
ACM Electronics
Figure 1-2: MMP Line Drawing – Overall View
1-3