Liquid Base Beverage Dispenser Installation & Operators Manual

4
630460001
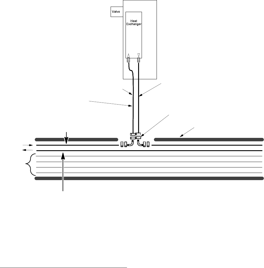
7. Check all connections for leaks before insulating the tubing.
Python Insulation
Cold Carbonated Water
From Cooling Unit
Cold Carbonated Water
Return to Cooling Unit
To Heat
Exchanger Inlet
From Heat
Exchanger Outlet
Syrup
Tubing
Oetiker Clamps (8)
Tubing must be insulated
to prevent condensation
FIGURE 1. CONNECTION TO EXISTING SODA SYSTEM COOLANT
CONNECT CONCENTRATE TUBING
Connect concentrate tubing to the Unit as follows:
1. Sanitize all concentrate systems after connecting concentrate tubing following instructions below. Refer to
sanitizing procedure in this manual.
IMPORTANT: All concentrate systems must be sanitized before unit is put into operation.
2. Route one concentrate tubing for each product up through the hole in the countertop.
3. Apply product decals from the kit to dispense switches to correspond to the product dispensed.
SEALING UNIT BASE TO COUNTERTOP (USA)
To comply with the requirements of the NSF International, (NSF), the base of a Unit must be sealed to the coun-
tertop and all access holes to the inside of the Unit must be closed off with a mastic material. To seal a Unit to
the countertop, proceed as follows:
1. The tower must be fastened to the countertop using sheet metal screw or machine screws,whichever is
desired. Before sealing the tower, locate and drill holes for screwing the tower to the countertop.