Instructions

8
LED dioda s
je zapojena v
a proto svítí (katoda na „-“).
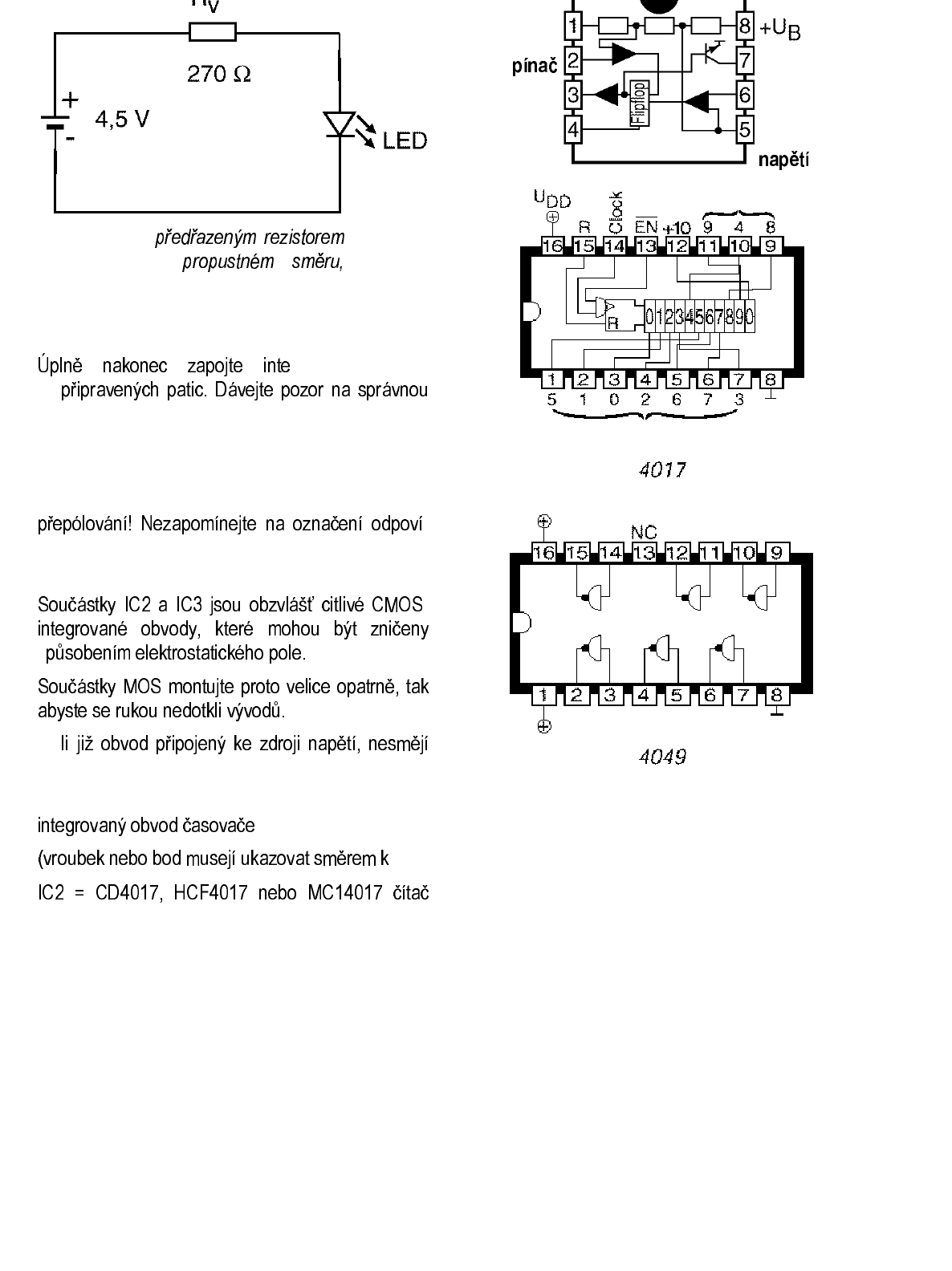
1.8 Integrované obvody (IC)
grované obvody
do
polaritu.
Pozor!
Integrované obvody jsou velice citlivé na špatné
-
dajícího integrovaného obvodu (bod nebo vrou-
bek).
-
i
Je-
být integrované obvody vyjímány z patic!
IC1 = NE555, CA555, TBD0555, nebo LM555
R1)
desítek
(vroubek nebo bod musejí ukazovat od IC1)
IC3 = CD4049, HCF4049 nebo MC14049
6 invertor/puffer
(vroubek nebo bod musejí ukazovat k P1)
Zem
S
Výstup
Reset
Vybíjení
Spínací vlna
Kontrolní
Výstupy
V
ýstupy










