User's Manual

34
Toshiba Pocket PC e750/e755 User’s Guide
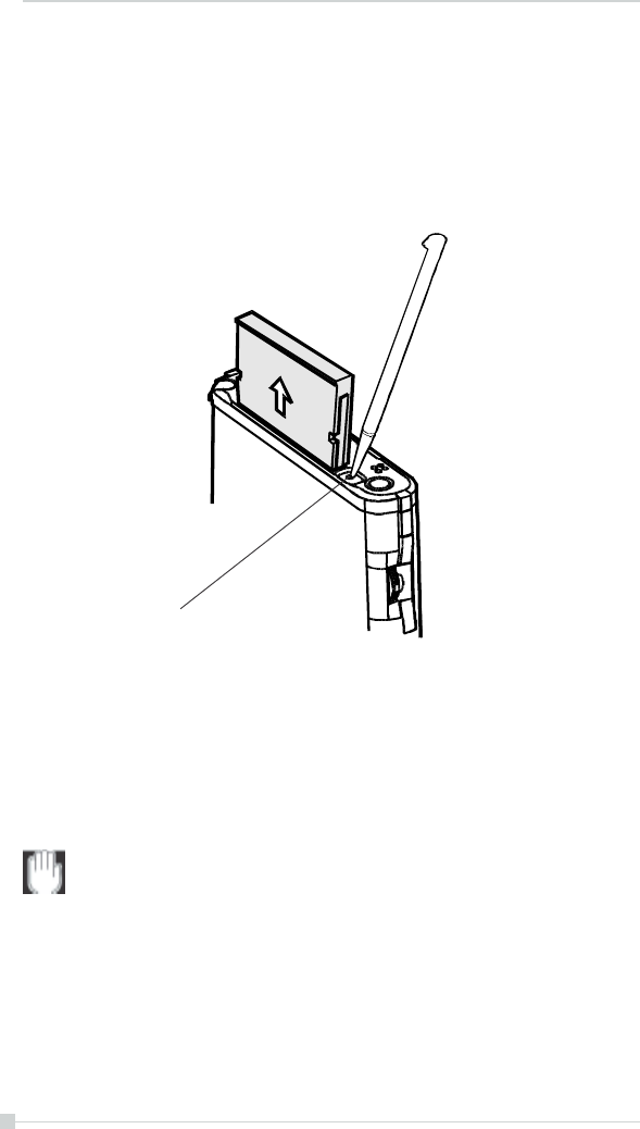
To remove a card:
1. Turn off the power.
2. Lightly press down the release button with the stylus. The button will
pop out. Press down on the release button again. The card will with-
draw slightly from the slot.
3. Pull the card straight up to remove.
Use stylus to release the CF card.
RELEASE BUTTON