User's Manual
Table Of Contents
- Cisco ONS 15454 SDH Reference Manual
- Contents
- About this Guide
- Shelf and FMEC Hardware
- Common Control Cards
- Electrical Cards
- Optical Cards
- Ethernet Cards
- Storage Access Networking Cards
- Card Protection
- Cisco Transport Controller Operation
- Security and Timing
- Circuits and Tunnels
- SDH Topologies and Upgrades
- CTC Network Connectivity
- Alarm Monitoring and Management
- Ethernet Operation
- Hardware Specifications
- A.1 Shelf Specifications
- A.2 SFP Specifications
- A.3 General Card Specifications
- A.4 Common Control Card Specifications
- A.5 Electrical Card and FMEC Specifications
- A.5.1 E1-N-14 Card Specifications
- A.5.2 E1-42 Card Specifications
- A.5.3 E3-12 Card Specifications
- A.5.4 DS3i-N-12 Card Specifications
- A.5.5 STM1E-12 Card Specifications
- A.5.6 BLANK Card
- A.5.7 FMEC-E1 Specifications
- A.5.8 FMEC-DS1/E1 Card Specifications
- A.5.9 FMEC E1-120NP Card Specifications
- A.5.10 FMEC E1-120PROA Card Specifications
- A.5.11 FMEC E1-120PROB Card Specifications
- A.5.12 E1-75/120 Impedance Conversion Panel Specifications
- A.5.13 FMEC-E3/DS3 Card Specifications
- A.5.14 FMEC STM1E 1:1 Card Specifications
- A.5.15 FMEC-BLANK Card Specifications
- A.5.16 MIC-A/P Card Specifications
- A.5.17 MIC-C/T/P Card Specifications
- A.6 Optical Card Specifications
- A.6.1 OC3 IR 4/STM1 SH 1310 Card Specifications
- A.6.2 OC3 IR/STM1 SH 1310-8 Card Specifications
- A.6.3 OC12 IR/STM4 SH 1310 Card Specifications
- A.6.4 OC12 LR/STM4 LH 1310 Card Specifications
- A.6.5 OC12 LR/STM4 LH 1550 Card Specifications
- A.6.6 OC12 IR/STM4 SH 1310-4 Card Specifications
- A.6.7 OC48 IR/STM16 SH AS 1310 Card Specifications
- A.6.8 OC48 LR/STM16 LH AS 1550 Card Specifications
- A.6.9 OC48 ELR/STM16 EH 100 GHz Card Specifications
- A.6.10 OC192 SR/STM64 IO 1310 Card Specifications
- A.6.11 OC192 IR/STM64 SH 1550 Card Specifications
- A.6.12 OC192 LR/STM64 LH 1550 Card Specifications
- A.6.13 OC192 LR/STM64 LH ITU 15xx.xx Card Specifications
- A.7 Ethernet Card Specifications
- A.8 Storage Access Networking Card Specifications
- Administrative and Service States
- Network Element Defaults
- Index

REVIEW DRAFT—CISCO CONFIDENTIAL
14-6
Cisco ONS 15454 SDH Reference Manual, R5.0
April 2008
Chapter 14 Ethernet Operation
14.2 G-Series Gigabit Ethernet Transponder Mode
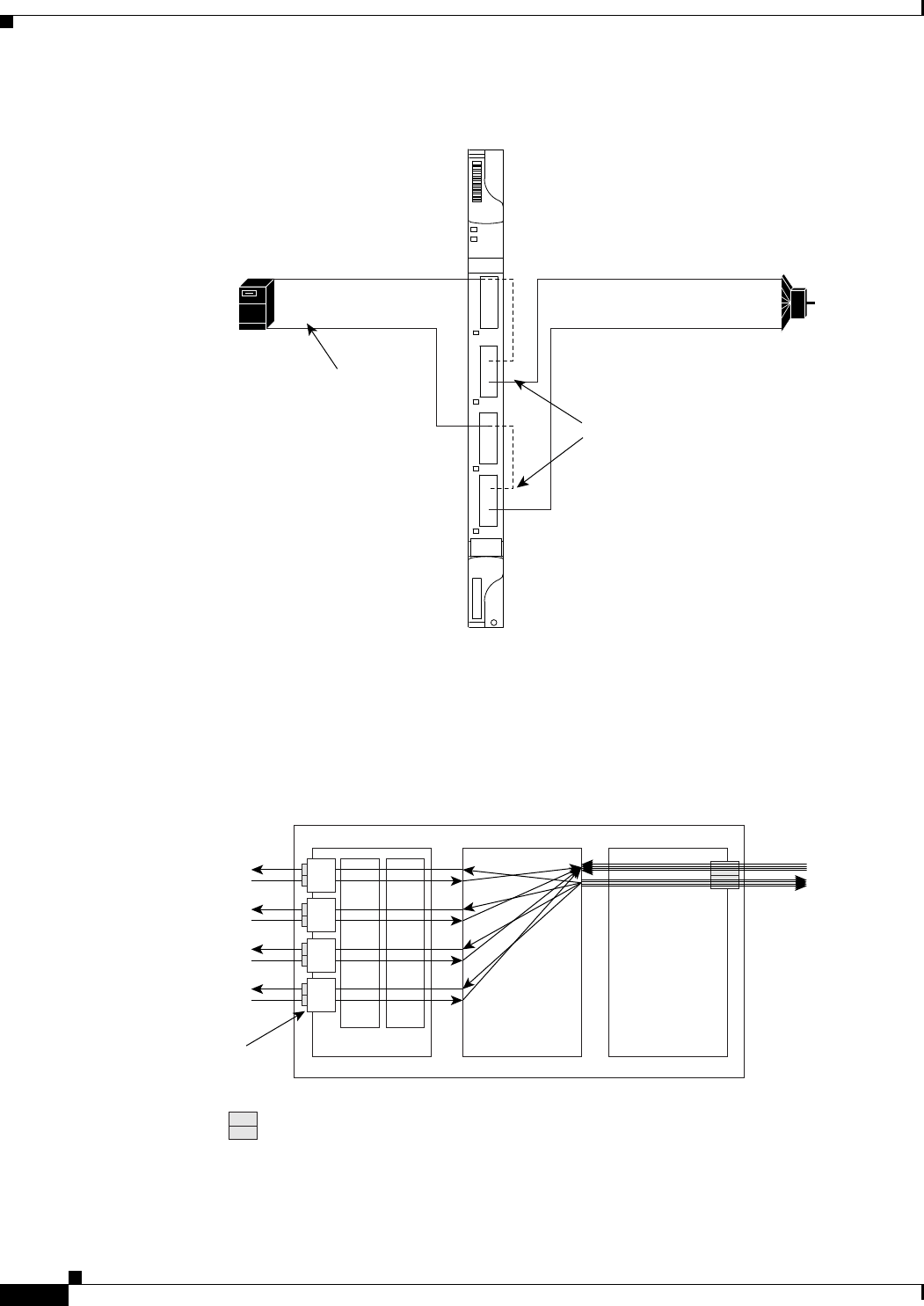
Figure 14-4 Card Level Overview of G-Series One Port Transponder Mode Application
A G-Series card configured as a transponder operates quite differently than a G-Series card configured
for SDH. In an SDH configuration, the G-Series card receives and transmits Gigabit Ethernet traffic from
the Ethernet ports and GBICs on the front of the card. This Ethernet traffic is multiplexed on and off the
SDH network through the cross-connect card and the OC-N card (Figure 14-5).
Figure 14-5 G-Series in Default SDH Mode
90914
Server/switch/router
Conventional Gigabit
Ethernet signals
DWDM filter
FAIL
ACT
G1K
RX
1
TX
RX
2
TX
RX
3
TX
RX
4
TX
ACT/LINK
ACT/LINK
ACT/LINK
ACT/LINK
Conventional LX or ZX GBICs
CWDM or DWDM GBICs
Gigabit Ethernet over CWDM or
DWDM GBICs' TX wavelengths
90910
t Ethernet 1
G-Series Card
t Ethernet 2
t Ethernet 3
t Ethernet 4
GBICs
GBIC
Tx Port
Rx Port
ONS Node
Cross-Connect
Card
STS-N(c)
Optical Card
Ethernet TDM










