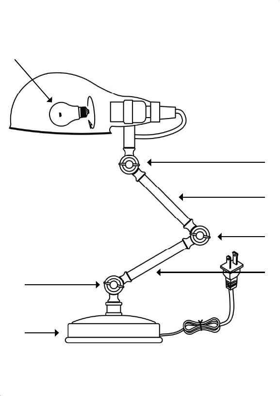
Installation & Assembly

1. Fasten tube onto base. tighten securely.
2. Fasten arm assembly onto tube
3. Adjust height and tighten with (A) knob.
4. Screw bulb (B) onto socket of body section.
5. Insert the polarized plug to wall outlet, turn on
switch and enjoy your new lamp.
TO CLEAN,USE SOFT CLOTH ONLY, DO NOT USE ANY
CHEMICAL OR ABRASIVE CLEANERS.
tube
A knob
tube
A knob
A knob
Base
Bulb


