Instruction manual

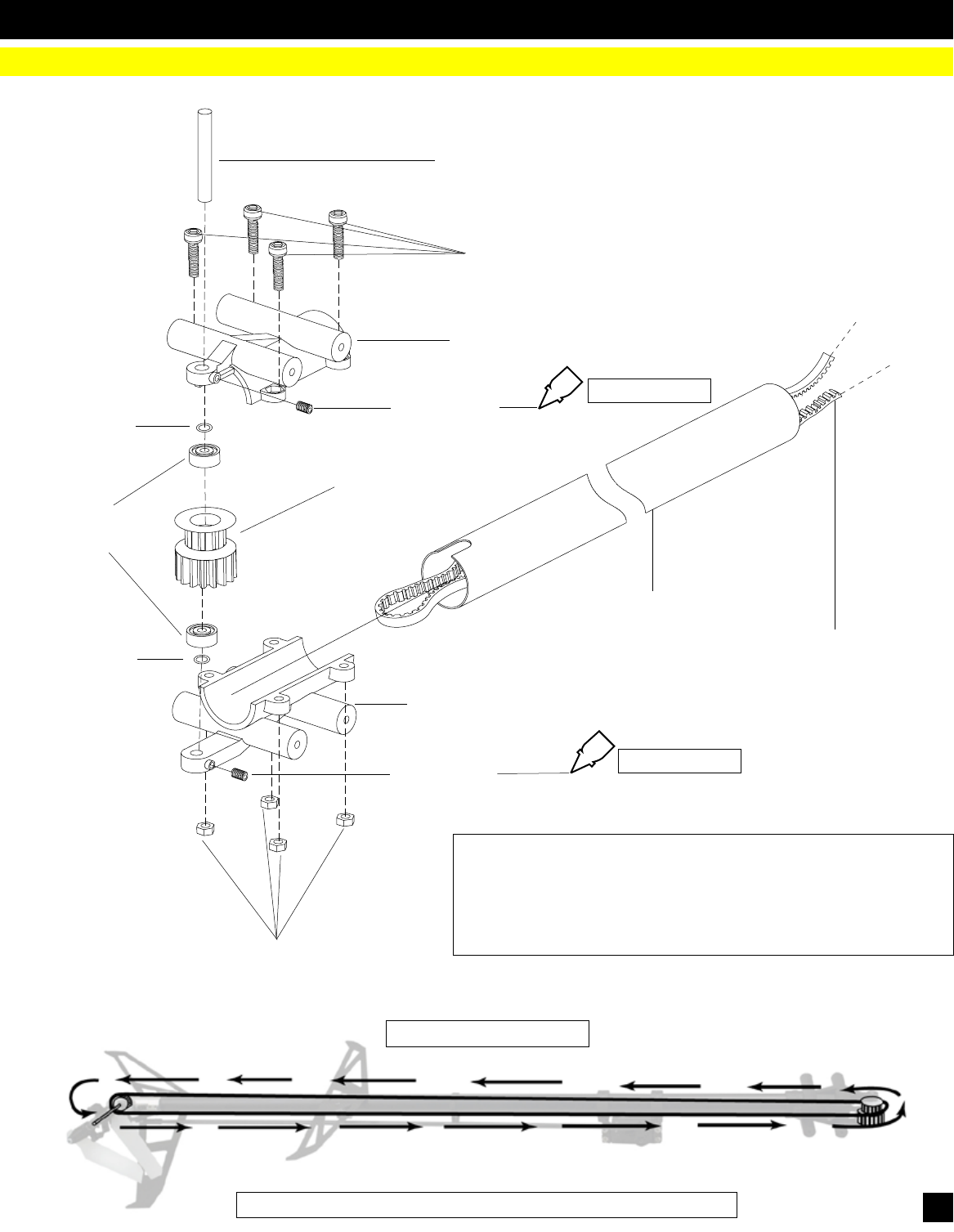
Tail Belt Drive
(CN531A)
Tailboom
(CNE532A)
M3 Locknut
Lower Transmission Case
(CNE542)
M4x4 Set Screw
Bearing 4x10x4
(CNBB4102)
Transmission Gear
(CNE533)
M3X4 Set Screw
Upper Transmission Case
(CNE542)
M3X10 Cap Screw
(CNM3X10CS)
M4x30 Pin
(CNE533)
Brass Spacer
M4x6x.25
(CNLR1006)
Brass Spacer
M4x6x.25
(CNLR1006)
Do not over tighten
Note: Straighten the belt inside the tailboom, rotate the belt 90-de-
gree counter clocwise. Assemble the transmission gearbox, do
not tighten at this point. Attach the tailboom assembly to the main
frame and secrure it in place. Properly mesh the main gear and
the transmission gear. Pull the tailboom outward to achieve the
desired belt tension and evenly tighten the transmission screws.
Tail Transmission Assembly
6. Assembly Instructions
CA
CA
Do not over tighten
Tail Drive Belt Direction
While facing the tail, the tail blades should spin counter clockwise.
Back of Heli
Front of Heli
13










