- CBM User's Manual Dot-Matrix Printer CBM-710/720/730/750
Manuals
Brands
CBM America Manuals
Printer
CBM-730
11
12
13
14
15
16
17
18
19
20
CBM
-710/720/730/750 Use
r
’
s Ma
nual
6
CITIZEN
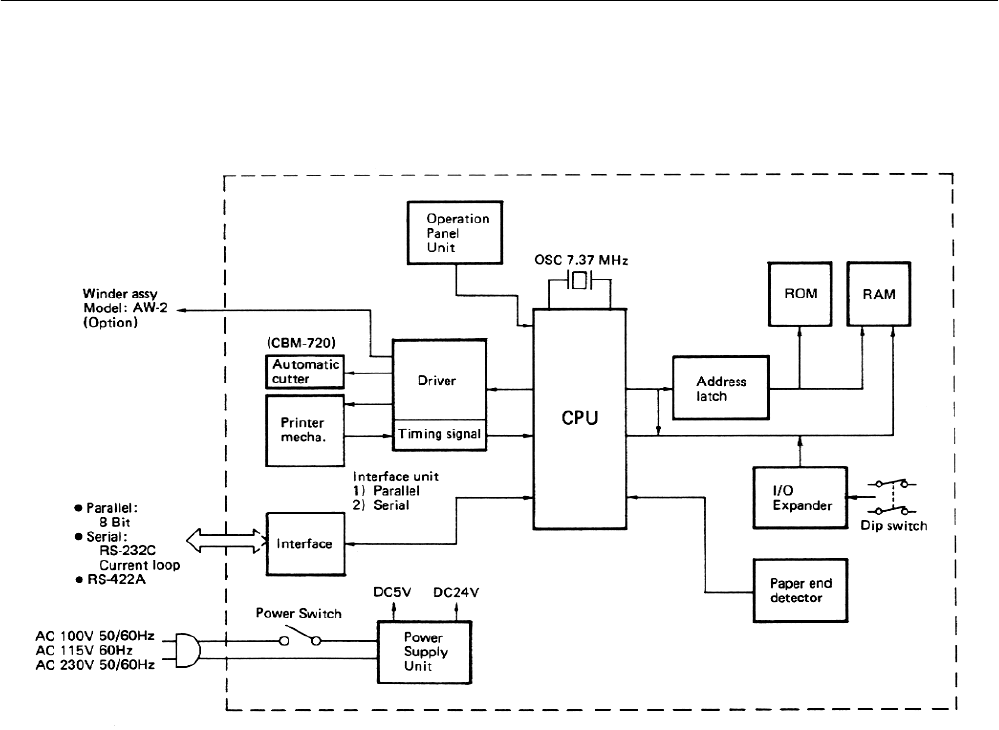
4.
BLOCK DIAGRAM
1
...
...
10
11
12
13
14
...
...
58