User manual - FX-9860G_AU_PLUS

• Все действия, описанные в данном разделе, выполняются с использованием строчного
режима ввода-вывода. Подробные сведения о копировании и вставке при выборе
математического режима ввода-вывода см. в разделе «Использование буфера обмена для
копии и вставки в математическом режиме ввода-вывода» (Глава 1).
●
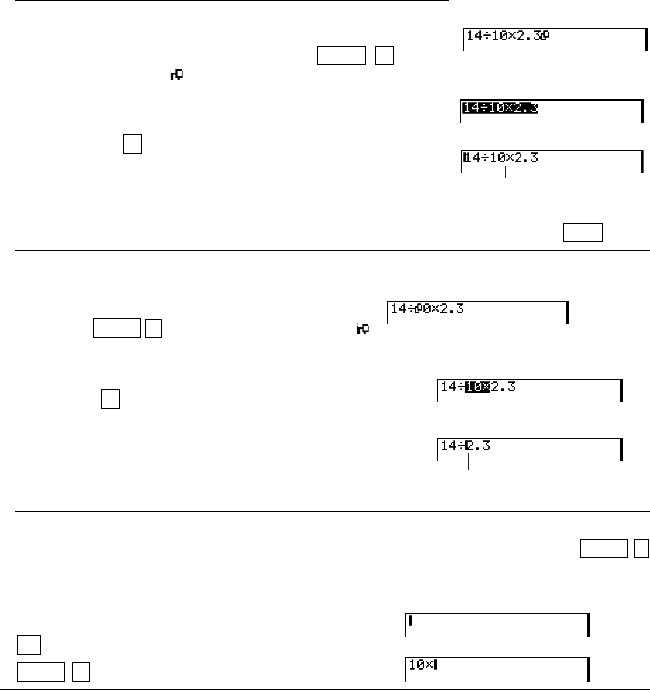
Задать диапазон копирования
1. Переместите курсор (I) к началу или концу текста, который
вы хотите скопировать, и затем нажмите
SHIFT 8 (CLIP).
Курсор примет вид « ».
2. Используя клавиши курсора для перемещения курсора,
выделите диапазон текста, который нужно скопировать.
3. Нажмите
F1 (COPY) для помещения выделенного
скопированного текста в буфер обмена и выйдите из режима
задания диапазона копирования.
Выделенные символы не изменяются при копировании.
Для отмены выделенного текста без выполнения операции копирования нажмите EXIT.
● Вырезать текст
1. Переместите курсор (I) к началу или концу текста, который вы хотите вырезать, и затем
нажмите
SHIFT 8 (CLIP). Курсор примет вид « ».
2. Используя клавиши курсора для перемещения курсора, выделите диапазон текста, который
нужно вырезать.
3. Нажмите
F2 (CUT) для вырезания выделенного текста в
буфер обмена.
Операция вырезания удаляет выбранные символы.
● Вставить текст
Переместите курсор в то место, куда вы хотите вставить текст, и затем нажмите SHIFT 9
(PASTE). Содержимое буфера обмена будет вставлено в место, где расположен курсор.
AC
SHIFT 9 (PASTE)
■ Функция каталога
Каталог – это алфавитный список всех команд, доступных для данного калькулятора. Для
ввода команды вы можете вызвать Каталог (Catalog) и затем выбрать нужную команду.
● Использовать каталог для ввода команды
18










