User manual - fx-115ES_991ES

E-16
Example 3: To input (1 + )
2
× 2 =
MATH
(1+'2c5e)
Math
w*2=
•When you press = and obtain a calculation result using Math
format, part of the expression you input can be cut off as shown in
the Example 3 screen shot. If you need to view the entire input
expression again, press A and then press e.
Incorporating a Value into a Function
When using Math format, you can incorporate part of an input
expression (a value, an expression within parentheses, etc.) into a
function.
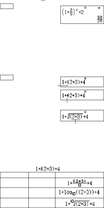
Example: To incorporate the expression inside of the parentheses
of 1 + (2 + 3) + 4 into the ' function
MATH
Math
Move the cursor to here.
1Y(INS)
Math
This changes the shape of the cursor as shown here.
!
Math
This incorporates the expression in the
parentheses into the function '.
• If the cursor is located left of a particular value or fraction (instead
of an open parentheses), that value or fraction will be incorporated
into the function specified here.
• If the cursor is located left of function, the entire function is
incorporated into the function specified here.
The following examples show the other functions that can be used
in the above procedure, and the required key operations to use them.
Original Expression:
Function Key Operation Resulting Expression
Fraction '
log(a,b) &
Power Root 16(")
2
5










