User manual - EXZR1500_M29_FA (Malay (macrolanguage))
Table Of Contents
- Aksesori
- Baca ini dahulu!
- Kandungan
- Panduan Umum
- Kandungan Skrin Monitor dan Cara Menukarnya
- Asas Mula Pantas
- Apa yang anda boleh lakukan dengan kamera CASIO anda
- Menyengetkan Skrin Monitor
- Menggunakan Kaki
- Mula-mula, cas bateri sebelum menggunakan.
- Mengkonfigurasi Tetapan Asas Kali Pertama Anda Menghidupkan Kamera
- Menyediakan Kad Memori
- Menghidupkan dan Mematikan Kamera
- Memegang Kamera Dengan Betul
- Untuk menangkap syot kilat
- Melihat Syot Kilat
- Memadam Syot Kilat dan Filem
- Peringatan Tangkapan Syot Kilat
- Tutorial Syot Kilat
- Memilih Mod Rakaman
- Menggunakan Panel Kawalan
- Menggunakan Pemasa Kendiri (Pemasa Kendiri)
- Melaraskan Imbangan Putih (Imbangan Putih)
- Memilih Mod Fokus (Fokus)
- Menentukan Kepekaan ISO (ISO)
- Merakam Potret Indah (Kulit Licin)
- Membetulkan Kecerahan Imej (Anjakan EV)
- Menggunakan Denyar (Denyar)
- Menentukan Mod Permeteran (Permeteran)
- Menangkap Gambar dengan Zum
- Mencetuskan Operasi Pemasa Kendiri dengan Gerakan (Bebas Tangan)
- Menangkap gambar dengan Kesan Artistik (ART SHOT)
- Merakam dengan Syot Tigaan
- Merakam Filem
- Menggunakan BEST SHOT
- Untuk merakam dengan BEST SHOT
- Mencipta dan Menggunakan Persediaan Anda Sendiri (CUSTOM SHOT)
- Merakam dengan Kesan Pencerahan Muka (Mekap)
- Merakam dengan Antigoncang Berkelajuan Tinggi (Antigoncang HS)
- Merakam Imej Cerah dalam Gelap tanpa Denyar (Syot Malam HS)
- Pembetulan Pendedahan Lampau dan Pendedahan Kurang Secara Digital (HDR)
- Merakam dengan Latar Belakang Kabur (Latar Belakang Kabur)
- Merakam dengan Makro Fokus Penuh (Makro Fokus Semua Di Dalam)
- Menggunakan Pengatup Berterusan dengan Fokus Auto (AF-CS)
- Merakam Letusan Imej (CS Berkelajuan Tinggi)
- Merakam dengan Mengutamakan Wajah Subjek (Pemilihan Terbaik HS)
- Merakam Imej Panorama (Panorama Slaid)
- Merakam dengan Sudut Pandang Super Lebar (Syot Lebar)
- Merakam Syot Kilat (Syot Kilat)
- Merakam Imej RAW (Imej RAW)
- Menggunakan Skrin TV untuk Merakam Syot Kilat (Output TV HDMI)
- Tetapan Lanjutan (REC MENU)
- Mengkonfigurasikan Tetapan Rakaman
- Mengkonfigurasikan Tetapan Bebas Tangan (Bebas Tangan)
- Mengkonfigurasikan Tetapan Kedudukan Gerakan (Kedudukan Gerakan)
- Menetapkan Fungsi kepada Dail Kawalan (Dail Kawalan)
- Menetapkan Fungsi pada Kekunci [<] dan [>] (Kekunci Kiri/Knn)
- Menyimpan Imej Normal Kedua Semasa Merakam dengan Seni HDR (Berganda (SENI HDR))
- Untuk memilih saiz imej syot kilat (Saiz Imej)
- Menetapkan Kualiti Imej Syot Kilat (Kualiti Imej)
- Tetapan Kualiti Imej Filem (Kualiti Filem)
- Menentukan Kepekaan ISO (ISO)
- Menentukan Had Atas Kepekaan ISO (Had Tinggi ISO)
- Mengurangkan Kesan Pergerakan Kamera dan Subjek (Anti Goncang)
- Mengezum dengan Resolusi Super (Zum (SR))
- Menghidupkan dan Mematikan Zum Digital (Zum Digital)
- Memilih Mod Fokus (Fokus)
- Penggambaran dengan Pengecaman Muka (Pengecaman Muka)
- Menentukan Kawasan Auto Fokus (Kws AF)
- Merakam Potret Indah (Kulit Licin)
- Merakam dengan Fokus Auto Berterusan (AF Berterusan)
- Mengoptimumkan Kecerahan Imej (Pencahayaan)
- Mengurangkan Hingar Angin semasa Merakam Filem (Pemotongan Hingar Angin)
- Membetulkan Kecerahan Imej (Anjakan EV)
- Melaraskan Imbangan Putih (Imbangan Putih)
- Menggunakan Pemasa Kendiri (Pemasa Kendiri)
- Menentukan Mod Permeteran (Permeteran)
- Menentukan Kekuatan Denyar (Kekuatan Denyar)
- Mengawal Ketajaman Imej (Ketajaman)
- Mengawal Ketepuan Warna (Ketepuan)
- Melaras Kontras Imej (Kontras)
- Menggunakan Lampu Bantuan Auto Fokus (Lampu Bantuan AF)
- Menghidupkan Semak Semula Imej (Smk Semula)
- Menggunakan Bantuan Ikon (Bantuan Ikon)
- Menukar Skrin Monitor semasa Merakam (Maklumat Rakaman)
- Mengkonfigurasi Tetapan Lalai Hidupkan Kuasa (Memori)
- Melihat Syot kilat dan Filem
- Fungsi Main Semula Lain (PLAY MENU)
- Memainkan Persembahan Slaid di Kamera (Prsmbhn Slaid)
- Mengedit Filem pada Kamera (Pengeditan Filem)
- Untuk gabungkan dua filem (Gabung Filem)
- Mencipta Syot Kilat Bingkai Filem (CETAKAN GERAKAN)
- Mengoptimumkan Kecerahan Imej (Pencahayaan)
- Melaraskan Imbangan Putih (Imbangan Putih)
- Melaraskan Kecerahan Syot Kilat Sedia Ada (Kecerahan)
- Memilih Imej untuk Percetakan (Cetakan DPOF)
- Melindung Fail Daripada Pemadaman (Lindungi)
- Mengedit Tarikh dan Masa Imej (Tarikh/Masa)
- Memutar Imej (Putaran)
- Mengubah saiz Syot Kilat (Ubah Saiz)
- Memangkas Syot Kilat (Memotong)
- Menyalin Fail (Salin)
- Menggabungkan Imej CS ke dalam Imej Pegun Tunggal (Berbilang Cetak CS)
- Membahagikan Kumpulan Pengatup Berterusan (Bahagikan Kumpulan)
- Mengedit Imej (Edit Kumpulan)
- Percetakan
- Menggunakan Kamera dengan Komputer
- Tetapan Lain (SETTING)
- Mendayakan Penjimatan Kuasa (Mod EKO)
- Melaras Kecerahan Skrin Monitor (Skrin)
- Mematikan Komunikasi Kad Eye-Fi (Eye-Fi)
- Mengkonfigurasi Tetapan Komunikasi Kad FlashAir (FlashAir)
- Mengkonfigurasi Tetapan Bunyi Kamera (Bunyi)
- Mencipta Folder Simpanan Imej (Cipta Folder)
- Pengecapan Masa Syot Kilat (Cap Masa)
- Pengesanan Orientasi Imej dan Pemutaran Auto (Putar Auto)
- Menentukan Peraturan Penjanaan Nombor Siri Nama Fail (No. Fail)
- Mengkonfigurasi Tetapan Keadaan Tidur (Tidur)
- Mengkonfigurasi Tetapan Mati Kuasa Auto (Mati Kuasa Auto)
- Menentukan Operasi semasa Skrin Monitor Disengetkan (Skrin Senget)
- Mengkonfigurasi Tetapan [>] (MAIN)
- Menyahdayakan Pemadaman Fail (Kekunci Padam)
- Mengkonfigurasi Tetapan Waktu Dunia (Waktu Dunia)
- Menetapkan Jam Kamera (Laras)
- Menentukan Gaya Tarikh (Gaya Tarikh)
- Menentukan Bahasa Paparan (Language)
- Memilih Nisbah Bidang Skrin dan Sistem Output Video (Output Video)
- Memilih Kaedah Output Terminal HDMI (Output HDMI)
- Memformat Memori Terbina Dlm atau Kad Memori (Format)
- Menetapkan Semula Kamera ke Lalai Kilang (Set Semula)
- Lampiran

53
Tutorial Syot Kilat
Kepekaan ISO ialah ukuran kepekaan pada cahaya.
1. Dalam mod RKM, tekan [SET].
2. Gunakan [8] dan [2] untuk memilih opsyen Panel Kawalan (ISO)
dan kemudian tekan [SET].
3. Gunakan [8] dan [2] untuk memilih tetapan yang anda mahu dan
kemudian tekan [SET].
• Semasa “Auto” dipilih, Antigoncang memperbetulkan pergerakan subjek sahaja
(halaman 114).
• Disebabkan nilai kepekaan ISO yang tinggi cenderung menghasilkan hingar digital
dalam imej, kamera akan melakukan proses penapisan hingar. Disebabkan ini, ia
mungkin mengambil masa yang lebih lama untuk kamera selesai merakam imej
selepas ia dirakam. Anda tidak akan dapat melakukan sebarang operasi kekunci
semasa rakaman imej sedang berlangsung.
• Dalam mod S (Kelajuan Pengatup AE), kepekaan ISO sentiasa beroperasi
mengikut tetapan “Auto”.
• Dalam mod M (Pendedahan Manual), “Auto” tidak boleh dipilih.
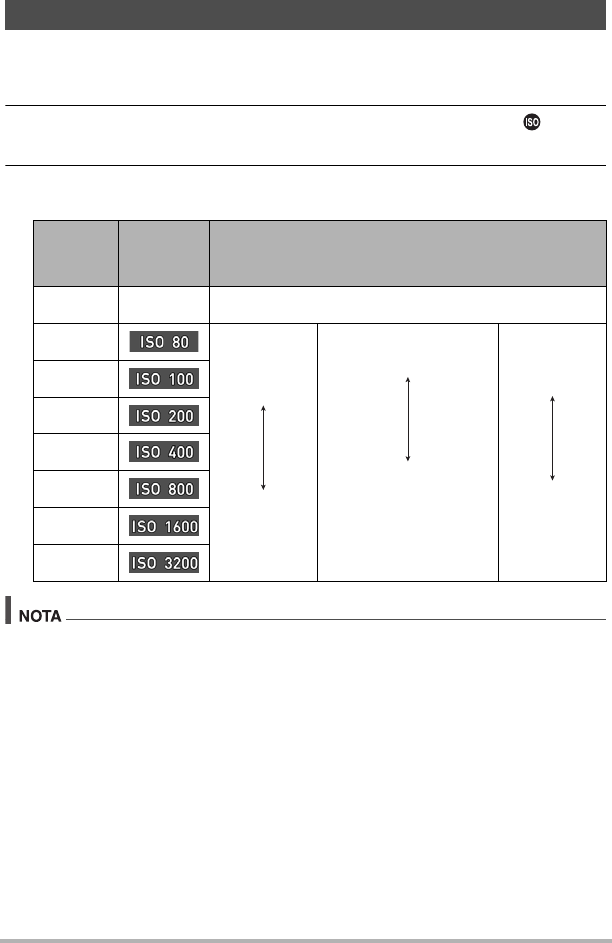
Menentukan Kepekaan ISO (ISO)
Tetapan
Paparan
Ikon Skrin
RKM
Penerangan
Auto Tiada Laras pemekaan secara automatik mengikut keadaan.
ISO80
Kepekaan
lebih rendah
Kepekaan
lebih tinggi
Kelajuan pengatup
perlahan
Kelajuan pengatup
pantas (Ditetapkan
untuk menangkap
gambar dalam kawasan
bercahaya malap.)
Kurang
hingar
Agak kasar
(peningkatan
hingar digital)
ISO100
ISO200
ISO400
ISO800
ISO1600
ISO3200










