Owner's Manual
Manuals
Brands
Burnham Manuals
Atmospheric Boiler
Burnham Series 8H/8HE Boiler
11
12
13
14
15
16
17
18
19
20
14
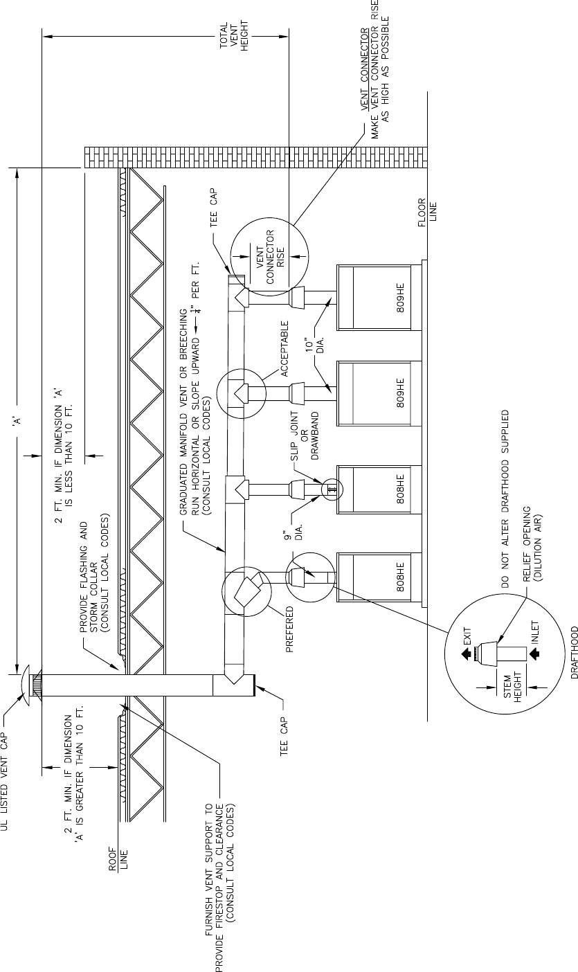
GRADUA
TED DIAMETER MANIFOLD VENT OR BREECHING
TWO THROUGH EIGHT MODULES
FIGURE 1-6
1
...
...
12
13
14
15
16
...
...
72