Operation Manual

30
De bedieningsknop (1) ± 10 – 15
seconden ingedrukt houden.
De bedieningsknop (1) loslaten.
Regel nu de gewenste
warmwatertemperatuur.
Indien de waakvlam dooft, de vorige
handelingen herhalen. Indien de
waakvlam na verscheidene pogingen
steeds dooft, dient de gasleiding eerst
zorgvuldig ontlucht te worden.
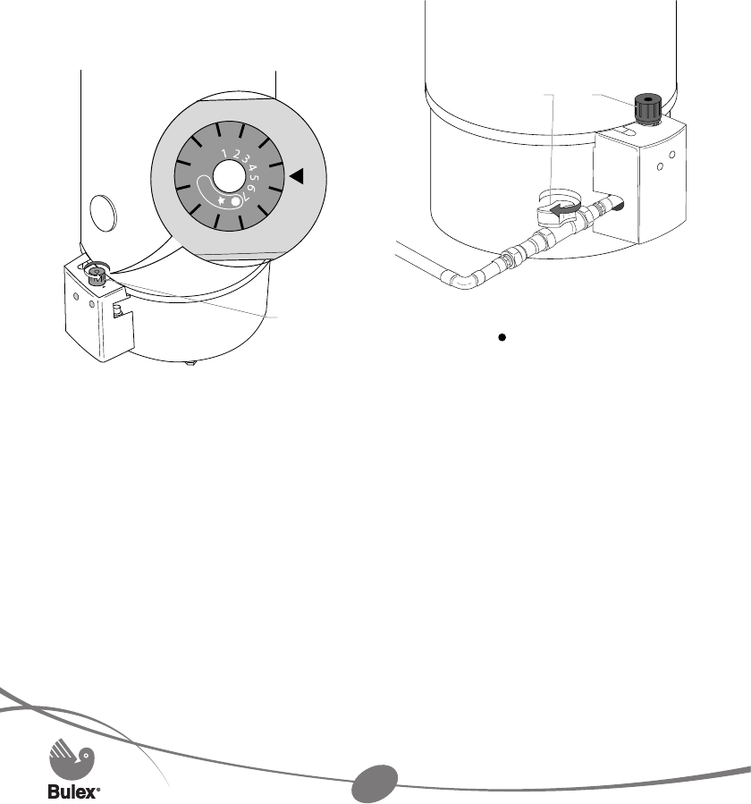
3.2 Warmwatertemperatuur instellen
1
Wanneer er warm water wordt getapt via
een waterkraan, stroomt er koud water in
de boiler waar het verwarmd wordt tot de
temperatuur ingesteld op de aquastaat.
De AQGAS-boiler schakelt automatisch
aan of uit bij het al of niet bereiken van
deze ingestelde temperatuur op de
aquastaat (bedieningsknop 1).
De AQGAS-boiler is verbonden met
de waterleiding door middel van
de koudwateraansluiting en met
de aftapkranen door middel van de
warmwateraansluiting.
De warmwatertemperatuur is traploos
instelbaar op de bedieningsknop (1).
De standen 1 tot en met 7 stemmen
•
•
•
•
respectievelijk overeen met temperaturen
van min. 40 tot max. 70 °C.
Om economische en hygiënische redenen
wordt de sanitaire aquastaat fabrieks
ingesteld op een temperatuur van 60 °C.
Het is aanbevolen zich aan deze instelling
te houden - zeker wanneer het water veel
kalk bevat.
3.3 Uit bedrijf nemen
1
2
Draai de bedieningsknop (1) naar de
stand “uit” ( ).
De gaskraan (2) sluiten.
•
•










