Operation Manual
Table Of Contents
- Bedieningsvoorschrift
- 1 Inleiding
- 2 Gevaren- en veiligheidsaanwijzingen
- 3 Economisch verwarmen en energie besparen
- 4 Regeltoestel Logamatic4211 - bedieningselementen
- 5 Beknopt bedieningsvoorschrift
- 6 Kamertemperatuur instellen
- 7 Tapwater-regeling
- 8 Regeling van de omlooppomp
- 9 Meldingen oproepen
- 10 Standaardprogramma kiezen
- 11 Programma veranderen
- Verschuiven van een schakelpunt
- keuze verwarm.kr.
- verwarmingskr.2
- schakelklok
- programmakeuze
- familie
- familieprogramma
- maandag
- om 5:30
- familieprogramma
- dinsdag
- om 5:30
- eigen programma 2
- dinsdag
- om 6:30
- Toevoegen van schakelpunten
- Het eerste schakelpunt ingeven
- Schakelpunt wissen
- Verwarmingskring selecteren
- Programma selecteren
- Schakelpunt selecteren en wissen
- keuze verwarm.kr.
- verwarmingskr.2
- schakelklok
- verwarmingskr.2
- schakelklok
- programmakeuze
- familie
- familieprogramma
- maandag
- om 22:00
- familieprogramma
- wissen
- maandag
- hhhhhhh
- Een verwarmingsfase wissen
- Verwarmingsfase kiezen en wissen
- Verwarmingsfasen koppelen
- 12 Nieuw verwarmingsprogramma opstellen
- 13 Nieuw tapwaterprogramma ingeven
- 14 Nieuw programma voor de omlooppomp ingeven
- 15 Party- en Pauze-functie
- 16 Vakantieprogramma
- 17 Zomer-/winteromschakeling instellen
- Zomerbedrijf
- Winterbedrijf
- Automatische zomer-/winteromschakeling instellen
- Verwarmingskring selecteren
- Omschakeltemperatuur instellen
- instelling
- niet mogelijk
- MEC-verwarm.kr.
- uitkiezen
- keuze verw. kr.
- MEC-verwarm.kr.
- Sommer/Winter
- MEC-verwarm.kr.
- Daarop verschijnt het masker met de actueel ingestelde omschakeltemperatuur. De instelbare temper...
- 18 Standaardscherm veranderen
- 19 Datum en uur ingeven
- 20 Rookgastest
- 21 Kamertemperatuurvoeler kalibreren
- 22 Storingen en storingen verhelpen
- 23 Noodbedrijf
- Storingen in het regeltoestel
- Verwarmingsbedrijf via handschakelaars
- storing
- instellingen voor het noodbedrijf
- R
- AUT
- 3
- R
- 3
- AUT
- R
- 3
- AUT
- Mengkleppen van de verwarmingskringen manueel loskoppelen en in de richting "open" of "dicht" dra...
- Ingeval van storing onmiddellijk uw installateur verwittigen. Hij garandeert u een vakkundige ser...
- 24 Instelprotocol
- 25 Trefwoordenregister
- Buderus is steeds in uw nabijheid.

Nieuw programma voor de omlooppomp ingeven14
38
Wijzigingen op basis van technische verbeteringen voorbehouden!
Bedieningsvoorschrift regeltoestel Logamatic 4211 • Uitgave 05/2000
Buderus Heiztechnik GmbH • http://www.buderus.be
14 Nieuw programma voor de omlooppomp ingeven
In het menupunt "programmakeuze" kan vastgelegd
worden, of de omlooppomp automatisch afhankelijk van
de verwarmingskringen "programmakeuze volgens ver-
warmingskringen“, functioneert of een nieuw eigen
schakelprogramma "programmakeuze eigen OP" ge-
bruikt moet worden.
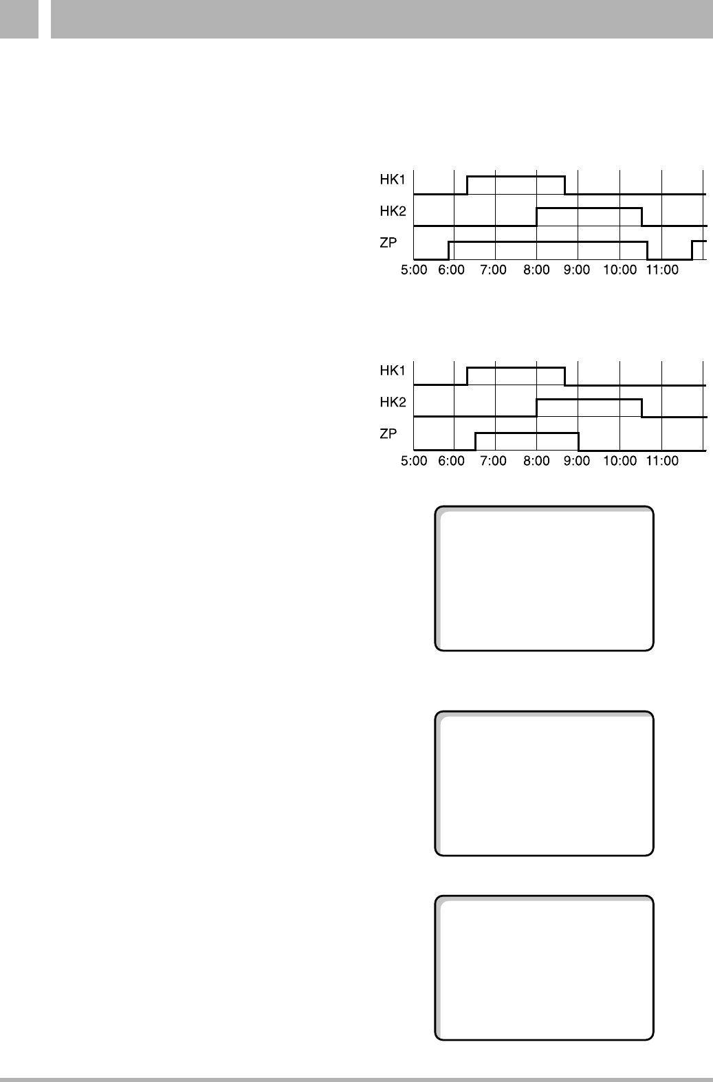
De fabrieksinstelling is "programmakeuze volgens ver-
warmingskringen". In dit programma start de omloop-
pomp automatisch 30 minuten vóór het vroegste
schakelpunt van alle verwarmingskringen van dit regel-
toestel en eindigt met het uitschakalen van de laatste
verwarmingskring.
Wanneer uw omlooppomp niet volgens het automa-
tische programma moet functioneren, kan u een nieuw
eigen omlooppompprogramma ingeven.
Voorbeeld:
Elke weekdag moet van 6:30 tot 9:00 de omlooppomp
draaien.
Verwarmingskring selecteren
l Open het deksel.
l Druk op de toets C en houd hem ingedrukt.
l Draai de draaiknop, tot verwarmingskring "omloop-
pomp" verschijnt.
l Laat de toets C los.
Programma oproepen
l Druk op de toets J en houd hem ingedrukt.
Het menupunt "programmakeuze" verschijnt met het
vooringestelde omlooppompprogramma "volgens ver-
warmingskringen".
l Draai de draaiknop naar "nieuw".
l Laat de toets J los.
Ga voor de invoer van een nieuw schakelpunt op de-
zelfde manier tewerk als bij "Invoer van het eerste
schakelpunt" pagina 29 .
fabrieksinstelling
fabrieksinstelling
omlooppomp - automatisch
omlooppomp - automatisch
keuze verwarm.kr.
omlooppomp
schakelklok
programmakeuze
volgens verw.kr.
schakelklok
Programmauswahl
neu










