Operation Manual
Table Of Contents
- Bedieningsvoorschrift
- 1 Inleiding
- 2 Gevaren- en veiligheidsaanwijzingen
- 3 Economisch verwarmen en energie besparen
- 4 Regeltoestel Logamatic4211 - bedieningselementen
- 5 Beknopt bedieningsvoorschrift
- 6 Kamertemperatuur instellen
- 7 Tapwater-regeling
- 8 Regeling van de omlooppomp
- 9 Meldingen oproepen
- 10 Standaardprogramma kiezen
- 11 Programma veranderen
- Verschuiven van een schakelpunt
- keuze verwarm.kr.
- verwarmingskr.2
- schakelklok
- programmakeuze
- familie
- familieprogramma
- maandag
- om 5:30
- familieprogramma
- dinsdag
- om 5:30
- eigen programma 2
- dinsdag
- om 6:30
- Toevoegen van schakelpunten
- Het eerste schakelpunt ingeven
- Schakelpunt wissen
- Verwarmingskring selecteren
- Programma selecteren
- Schakelpunt selecteren en wissen
- keuze verwarm.kr.
- verwarmingskr.2
- schakelklok
- verwarmingskr.2
- schakelklok
- programmakeuze
- familie
- familieprogramma
- maandag
- om 22:00
- familieprogramma
- wissen
- maandag
- hhhhhhh
- Een verwarmingsfase wissen
- Verwarmingsfase kiezen en wissen
- Verwarmingsfasen koppelen
- 12 Nieuw verwarmingsprogramma opstellen
- 13 Nieuw tapwaterprogramma ingeven
- 14 Nieuw programma voor de omlooppomp ingeven
- 15 Party- en Pauze-functie
- 16 Vakantieprogramma
- 17 Zomer-/winteromschakeling instellen
- Zomerbedrijf
- Winterbedrijf
- Automatische zomer-/winteromschakeling instellen
- Verwarmingskring selecteren
- Omschakeltemperatuur instellen
- instelling
- niet mogelijk
- MEC-verwarm.kr.
- uitkiezen
- keuze verw. kr.
- MEC-verwarm.kr.
- Sommer/Winter
- MEC-verwarm.kr.
- Daarop verschijnt het masker met de actueel ingestelde omschakeltemperatuur. De instelbare temper...
- 18 Standaardscherm veranderen
- 19 Datum en uur ingeven
- 20 Rookgastest
- 21 Kamertemperatuurvoeler kalibreren
- 22 Storingen en storingen verhelpen
- 23 Noodbedrijf
- Storingen in het regeltoestel
- Verwarmingsbedrijf via handschakelaars
- storing
- instellingen voor het noodbedrijf
- R
- AUT
- 3
- R
- 3
- AUT
- R
- 3
- AUT
- Mengkleppen van de verwarmingskringen manueel loskoppelen en in de richting "open" of "dicht" dra...
- Ingeval van storing onmiddellijk uw installateur verwittigen. Hij garandeert u een vakkundige ser...
- 24 Instelprotocol
- 25 Trefwoordenregister
- Buderus is steeds in uw nabijheid.

Nieuw tapwaterprogramma ingeven 13
Wijzigingen op basis van technische verbeteringen voorbehouden!
Bedieningsvoorschrift regeltoestel Logamatic 4211 • Uitgave 05/2000
Buderus Heiztechnik GmbH • http://www.buderus.be
37
13 Nieuw tapwaterprogramma ingeven
In het menupunt "programmakeuze" kan vastgelegd
worden, of de tapwaterbereiding automatisch af-
hankelijk van de verwarmingskringen functioneert of dat
er een nieuw eigen schakelprogramma gebruikt moet
worden.
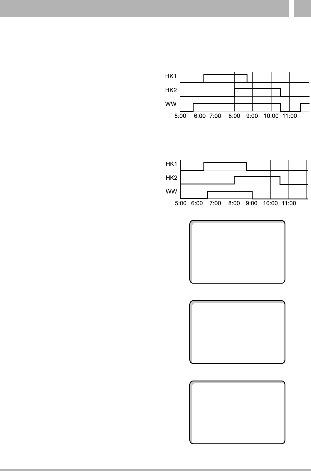
De fabrieksinstelling is "programmakeuze volgens ver-
warmingskringen". In dit programma begint de tapwater-
bereiding automatisch 30 minuten vóór het vroegste
schakelpunt van alle verwarmingskringen die aan het
regeltoestel zijn toegekend en eindigt bij het
uitschakelen van de laatste verwarmingskring.
Wanneer uw tapwaterbereiding niet op basis van de ver-
warmingskringen moet functioneren, kan u een nieuw
eigen tapwaterprogramma ingeven.
Voorbeeld:
Elke weekdag moet van 6:30 tot 9:00 tapwater bereid
worden.
Verwarmingskring selecteren
l Open het deksel.
l Druk op de toets C en houd hem ingedrukt.
l Draai de draaiknop, tot verwarmingskring "tapwater"
verschijnt.
l Laat de toets C los.
Programma selecteren
l Druk op de toets J en houd hem ingedrukt.
Het menupunt "programmakeuze" verschijnt met het
vooringestelde tapwaterprogramma "volgens verwarm-
ingskringen".
l Draai de draaiknop naar "nieuw".
l Laat de toets J los.
Ga voor de invoer van een nieuw schakelpunt op de-
zelfde manier tewerk als bij "Invoer van het eerste
schakelpunt" pagina 29 .
fabrieksinstelling
tapwater - automatisch
voorbeeld tapwater - programma nieuw
keuze verwarm.kr.
tapwater
schakelklok
programmakeuze
volgens verw.kr.
schakelklok
programmakeuze
nieuw










