Manual

LOW PROFILE DUCT INFORMATION
TRC8/6 TRANSITION IS AVAILABLE TO INCREASE THE DUCT SIZE TO 8” FOR OPTIMAL PERFORMANCE
IMPORTANT PLANNING INFORMATION!
PROPER INSTALLATION OF DUCTING IS EXTREMELY INPORTANT FOR OPTIMAL PERFORMANCE OF
YOUR BLUESTAR VENTILLATION SYSTEM.
ALL CFM’S ARE BASED ON TESTS AT 0.1 STATIC PRESSURE; WITHOUT STATIC PRESSURE, ALL
CFM’S WOULD BE OVERSTATED.
STRAIGHT RUNS OR GRADUAL TURNS ARE BEST
NEVER USE FLEXIBLE DUCT WORK
PROPER PERFORMANCE IS DEPENDENT ON PROPER DUCT INSTALLATION, USE A QUALIFIED
AND TRAINED INSTALLER
CONSULT WITH LOCAL CODES FOR MAKE UP AIR REQUIREMENTS
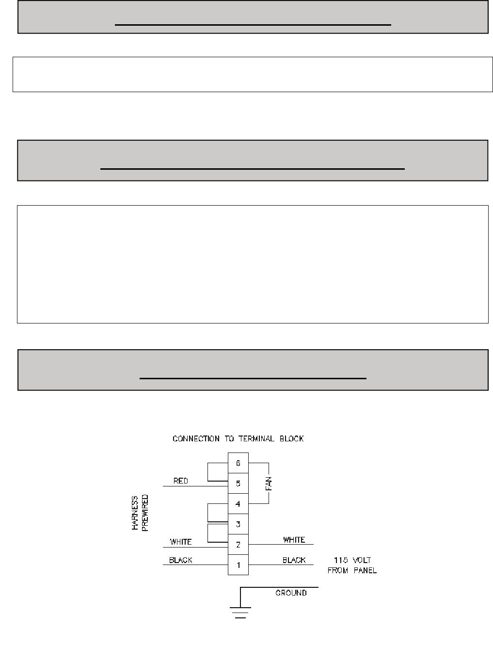
LOW PROFILE HOOD WIRING
P/N 750306 Page 26










