Instructions / Assembly

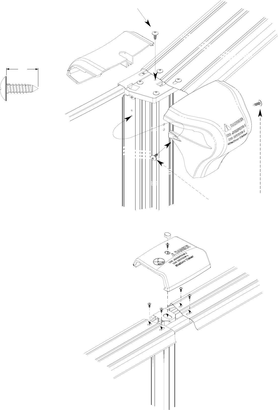
Put smaller cover to inside of joint, vartical.
Put #12 Sheet Metal Screw then tighten up.
Put larger cover to outside of joint, vertical and
slide into smaller cover.
Put #12 Sheet Metal Screw to Lower hole of
side of vertical as shown. do the same on the
other side of verticals.
Note: left side of Top seat on the figure not
shown for easy understanding, but actually top
seat should be attached before this procedure.
d ) INSTALLING SEAT COVERS
e ) INSTALLING OVAL SIDE TOP SEAT AND
SIDE SEAT COVERS
P.No.0341
P.No.0341
P.No.0341
#12 Sheet Metal Screw
#12 Sheet Metal Screw
#12 Sheet Metal Screw
Use #12 Sheet Metal Screw to Install oval side top
seats on top of Resin side upper joint P.No.3177.
Cut two prong of inside of side seat cover as shown
in the figure, then attach side seat cover by placing
it from inside of pool in right position as shown in
the figure.
Put #12 Sheet Metal Screw to side seat cover and
tighten it up. Put seat cover cap on top of side seat
cover.
FOR OVAL POOL ONLY
3/4