user manual

Electrical Connections
Electrical Connections
l Caution:
before making connections, disconnect the ground wire terminal of the car battery to avoid
shcrt
circuits.
l
Use this unit only with negative ground 12 Volt
(1
l-
16 Volt) direct current (DC).
l
Be sure to use the supplied changer cord. Using a cord other than the one supplied may cause
noise or damage.
l
Be sure to connect the changer cord to the FM Modulator before mounting. If you attach the
changer cord to the modulator and the cord projects down toward the back of the modulator,
remove the cord and attach the other end of the cord to the modulator.
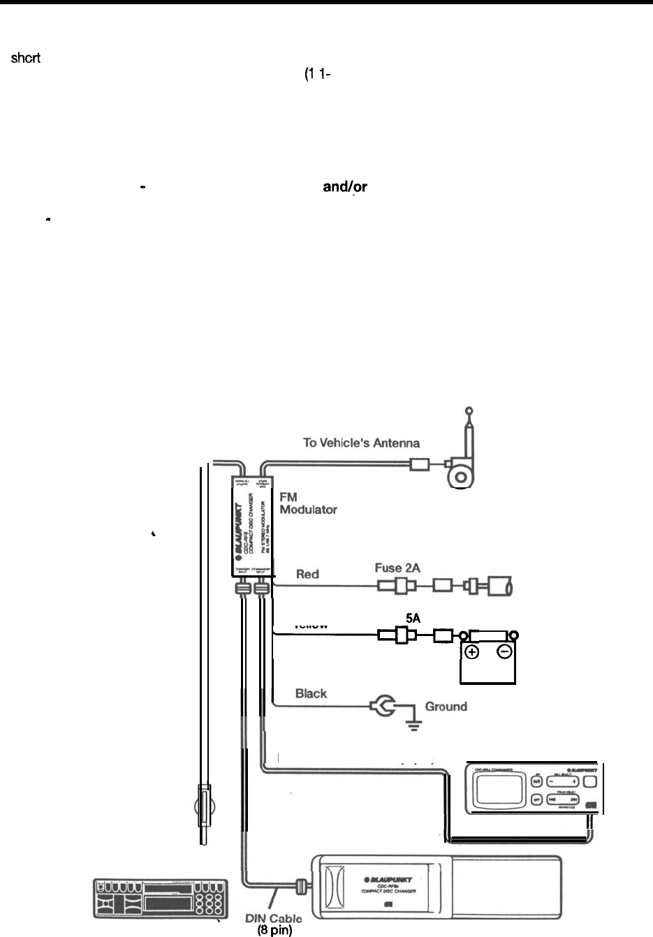
Power Connections
-
To prevent short circuits
and@
serious damage:
l
Disconnect the vehicle battery’s negative terminal before making connections.
Note
-
If the changer is to be installed in a car that is equipped with an on-board drive or navigation
computer, do not disconnect the battery cable. If the cable is disconnected, the computer memory
may be lost. Under these conditions, use extra caution to avoid causing a short circuit during
installation.
l
Connect leads according to the wiring diagram.
l
Connect the yellow lead to a constant source of power which has passed through the vehicle’s fuse unit.
l
Connect the red power input lead only after the other leads are connected. And be sure to connect it
to a positive (+) 12 Volt power terminal that is energized only when the ignition key is set to the
accessory position or on position.
l
Connect the black lead to a grounded metal part of the vehicle. We recommend grounding all audio
system black ground leads (head unit, external amplifier, etc.) to a common point.
Modulator
output
,
Radio Antenna
Input (in back)
FM Radio
’
(6
pin)
-
Yellow
Fuse
5A
To Battery
t
0
Ip
DIN Connection Cord (6
pin)
Commander
11
CD Changer
6










