User's Manual

4
Escape normal (Figura 6) - Durante una liberación normal
del freno, relativamente “lenta”, el aire regresa a través del
modulador en la dirección contraria a como fluyó durante la
aplicación. Los componentes internos del modulador
permanecerán en la misma posición que tomaron durante
la aplicación, hasta que la presión del aire disminuya a
aproximadamente la mitad de las psi, tiempo en el cual el
diafragma de suministro se asentará sobre el conducto de
suministro. Una cantidad relativamente pequeña de aire
generalmente será expulsada por el orificio de escape del
modulador, durante la liberación “lenta” del freno.
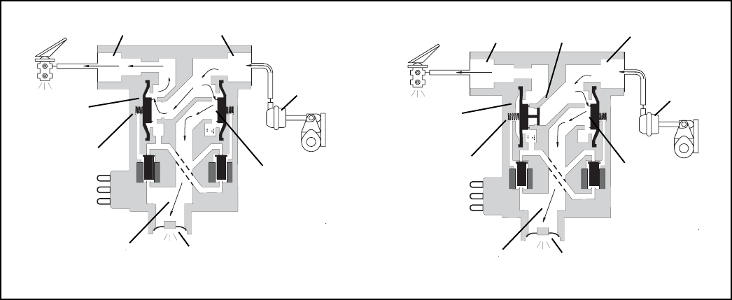
Escape rápido (Figura 7) - La operación de escape rápido
descrita en el siguiente texto, ocurre cuando el modulador
está controlando la cámara(s) de servicio. Durante una
liberación rápida del freno, el modulador de liberación rápida
descargará el aire diferente a una liberación “lenta” del freno.
Un ejemplo de esto sería el caso de un conductor que hizo
una aplicación severa del freno, luego levantó su pié de la
válvula de pié. Durante una liberación rápida del freno, el
aire anteriormente liberado a la cámara del freno se descargó
a través de los moduladores M-32
™
como sigue:
Para el modulador M-32QR
™
: La válvula de inclinación se
mueve a su posición cerrada, cerrando la ruta de retorno del
aire a las válvulas de escape del freno. La presión de aire
contra la válvula de escape dentro del modulador M-32
™
supera la fuerza del resorte y permite que el aire seescape
a través del orificio de escape del modulador M-32QR
™ .
La
presión de aire residual entre la válvula de inclinacón y el
pedal del freno regresa a la válvula de escape del freno.
Para el modulador M-32
™
: Así como en la liberación ”lenta”
del freno, la presión del aire regresa a la válvula de escape
del freno, pero también la presión de aire contra la válvula
de escape dentro del modulador M-32
™
supera la fuerza del
resorte y permite que el aire escape a través del orificio de
escape del modulador M-32
™
.
OPERACION ANTIBLOQUEO
GENERAL
Si se hace una aplicación del freno de servicio y el sistema
antibloqueo detecta un impedimento para bloquear la rueda,
el controlador antibloqueo hará una aplicación controlada
del freno usando el modulador.
Para controlar la aplicación del freno, las bobinas de las
dos válvulas solenoides contenidas en el modulador son
energizadas o desenergizadas en una secuencia
preprogramada por el controlador antibloqueo. Cuando una
bobina de la solenoide es energizada y dependiendo de que
la solenoide de escape o retención sea energizada, ésta se
abre o se cierra, causando así el escape o la reaplicación
de l a presión del aire al actuador del freno. Las solenoides
en el modulador son controladas independientemente por
el controlador (ECU) antibloqueo.
Un conductor experimentado (de un vehículo sin ABS) que
encuentra bloqueo en la rueda, puede algunas veces
“bombear los frenos” para intentar prevenir el bloqueo de la
rueda y mantener el control del vehículo. En el caso de un
sistema de frenado ABS, el conductor no necesita “bombear
los frenos” ya que el controlador antibloqueo puede aplicar
y liberar los frenos usando los moduladores con velocidad y
exactitud mucho mayor. Dependiendo del número de
moduladores usados, algunos sistemas pueden aplicar la
fuerza del frenado independientemente a las ruedas. (vea
página 2).
FIGURA 7: MODULADORES M-32
™
y M-32QR
™
DE ESCAPE RAPIDO DE LOS FRENOS DE SERVICIO SIN
ANTIBLOQUEO
Diafragma de
suministro o
retención abierto
Resorte
Cámara del
freno
Válvula del
freno
Diafragma de
escape
Válvula de
escape abierta
Orificio de
escape
Modulador
M-32
™
Modulador
M-32QR
™
Válvula de
inclinción
Orificio de
entrega
Orificio de
suministro
Diafragma de
suministro o
retención abierto
Resorte
Cámara del
freno
Válvula del
freno
Diafragma de
escape
Válvula de
escape
abierta
Orificio de
escape
Orificio de
entrega
Orificio de
suministro









