User manual

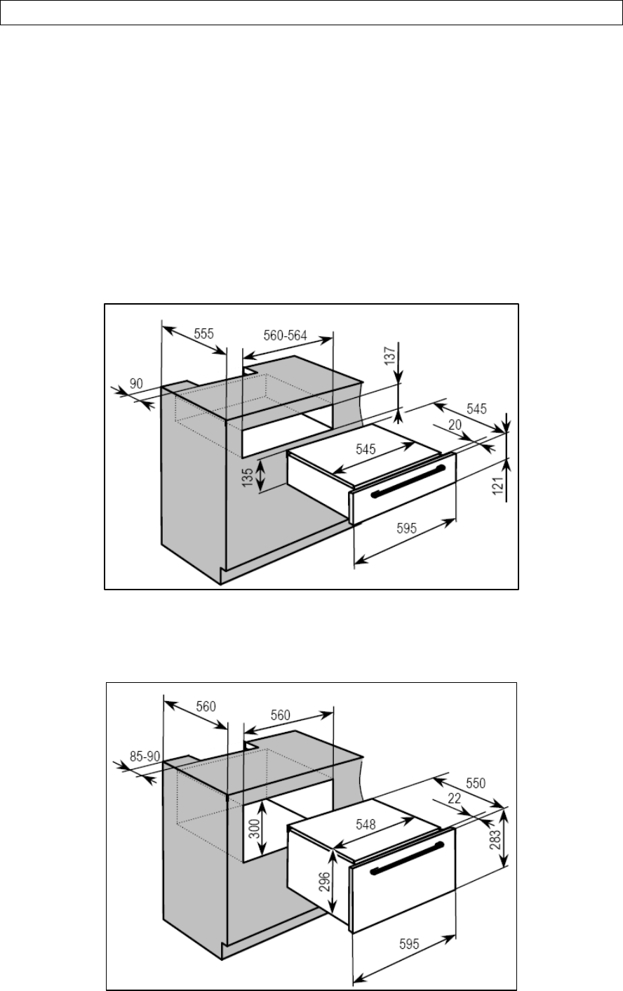
Installing the warming drawer into the kitchen cabinet
Positioning the appliance (without an oven)
o Ensure that the aperture that you will be fitting the warming
drawer into is of the size given in the diagrams below.
o The warming drawer must be fitted into a housing unit with the
ventilation cut-outs shown in these diagrams.
o Ensure that the rear panel of the furniture housing unit has been
removed.
BD14SS
BD29SS
20










